APRUEBA INSTRUCTIVO PARA LA TRAMITACIÓN DE SOLICITUDES DE EVALUACIÓN TÉCNICA DE PROYECTOS DE RECAMBIO MASIVO DE ALUMBRADO PÚBLICO QUE INDICA Y SUS ANEXOS
Núm. 38 exenta.- Santiago, 4 de febrero de 2022.
Vistos:
Lo dispuesto en el DL Nº 1/19.653, de 2000, del Ministerio Secretaría General de la Presidencia, que fija el texto refundido, coordinado y sistematizado de la Ley Nº 18.575, Orgánica Constitucional de Bases Generales de la Administración del Estado; en la Ley Nº 19.880, que Establece Bases de los Procedimientos Administrativos que rigen los Actos de los Órganos de la Administración del Estado; en el decreto ley Nº 2.224, de 1978, del Ministerio de Minería, que Crea el Ministerio de Energía y la Comisión Nacional de Energía; en la Ley Nº 21.395, de Presupuestos para el Sector Público correspondiente al año 2022; en la resolución Nº 7, de 2019, de la Contraloría General de la República; y
Considerando:
1. Que, la letra e), del artículo 4, del decreto ley Nº 2.224, de 1978, del Ministerio de Minería, que Crea el Ministerio de Energía y la Comisión Nacional de Energía dispone que "Para el cumplimiento de su objetivo corresponderá al Ministerio, en particular las siguientes funciones y atribuciones: e) Velar por el efectivo cumplimiento de las normas sectoriales, sin perjuicio de las atribuciones que correspondan a los organismos en ella mencionados, a los que deberá impartir instrucciones, pudiendo delegar las atribuciones y celebrar con ellos los convenios que sean necesarios".
2. Que, la Glosa Nº 8, Asignación 002, Ítem 04, Subtítulo 32, del Programa 03 "Programas de Desarrollo Local", del Capítulo 05, de la Partida 05, Ministerio del Interior y Seguridad Pública, Subsecretaría de Desarrollo Regional y Administrativo, de la Ley de Presupuestos correspondiente al año 2022, dispone que "En aquellos casos en que los recursos sean destinados a la ejecución de proyectos de recambio masivo de alumbrado público, deberá contarse con la aprobación técnica del proyecto por parte de la Subsecretaría de Energía de forma previa a la elegibilidad de asignación de estos recursos por parte de la Subsecretaría de Desarrollo Regional y Administrativo. Adicionalmente, en aquellos casos en que estos proyectos requieran obtener la recomendación socioeconómica favorable por parte del Ministerio de Desarrollo Social y Familia, se deberá contar con la aprobación técnica de la Subsecretaría de Energía de forma previa a obtener dicha recomendación. Se entenderán como de recambio masivo aquellos proyectos que tienen por objeto el reemplazo de luminarias o componentes de éstas, ambos de acuerdo a lo establecido en el decreto supremo Nº 2, de 2014, o en el decreto supremo Nº 51, de 2015, ambos del Ministerio de Energía, o el que los reemplace".
3. Que, en virtud de lo dispuesto en la norma referida en el considerando anterior, el instructivo que mediante la presente resolución se aprueba, será aplicable para la tramitación de las solicitudes de evaluación técnica de proyectos de recambio masivo de alumbrado público que sean efectuadas por Municipalidades y que se encuentren en una etapa previa a la elegibilidad de asignación de recursos por parte de Subsecretaría de Desarrollo Regional y Administrativo. Asimismo, el presente instructivo será aplicable para la tramitación de las solicitudes de evaluación técnica de proyectos de recambio masivo de alumbrado público que requieran obtener la recomendación socioeconómica favorable por parte del Ministerio de Desarrollo Social y Familia, y que se encuentren en una etapa previa a obtener dicha recomendación.
4. Que, para la evaluación técnica de dichos proyectos, se tendrá en consideración el cumplimiento de las normas y reglamentos vigentes aplicables a los proyectos de alumbrado público de vías de tránsito vehicular y de bienes nacionales de uso público destinados al tránsito peatonal, en lo referido a la etapa de elaboración del proyecto y sus especificaciones técnicas, junto con otros requisitos técnicos mínimos indispensables para asegurar la calidad técnica de los mismos.
Resuelvo:
Apruébase el instructivo para la tramitación de solicitudes de evaluación técnica de proyectos de recambio masivo de alumbrado público de la Subsecretaría de Energía, cuyo texto íntegro se señala a continuación:
"INSTRUCTIVO PARA LA TRAMITACIÓN DE SOLICITUDES DE EVALUACIÓN TÉCNICA DE PROYECTOS DE RECAMBIO MASIVO DE ALUMBRADO PÚBLICO"
Artículo 1°. Definiciones
Para efectos de la aplicación del presente instructivo, se entenderá por:
a) Antecedentes: Documentos de un Proyecto de alumbrado público que la Subsecretaría de Energía evalúa técnicamente.
b) Caso Tipo: Conjunto de características representativas de vías de un Proyecto de alumbrado público que tienen una misma clase de alumbrado y características geométricas similares. Dichas características proporcionan la información mínima necesaria para realizar los cálculos de iluminación en dichas vías.
c) DS2: Reglamento de Alumbrado Público de Vías de Tránsito Vehicular, aprobado mediante decreto supremo Nº 2, de 2014, del Ministerio de Energía y sus modificaciones posteriores o el reglamento que lo reemplace.
d) DS51: Reglamento de Alumbrado Público de Bienes Nacionales de Uso Público Destinados al Tránsito Peatonal, aprobado mediante decreto supremo Nº 51, de 2015, del Ministerio de Energía y sus modificaciones posteriores o el reglamento que lo reemplace.
e) Entidad Solicitante: Organismo que solicita a la Subsecretaría de Energía la evaluación técnica de un Proyecto de recambio masivo de alumbrado público.
f) ILAC: International Laboratory Accreditation Cooperation.
g) Norma CIE 121: Norma de fotometría y fotogoniometría de luminarias, del año 1996, de la International Commission on Illumination.
h) Norma IEC 60529: Norma de grados de protección proporcionadas por envolventes (Código IP), del año 2013, de la International Electrotechnical Commission.
i) Norma IEC 60598-1: Norma de luminarias – Parte 1: Requisitos generales y ensayos, del año 2014, de la International Electrotechnical Commission.
j) Norma IEC 60598-2-3: Norma de luminarias – Parte 2-3: Requisitos particulares – Luminarias para alumbrado público, del año 2011, de la International Electrotechnical Commission.
k) Norma IEC 60598-2-5: Norma de luminarias – Parte 2-5: Requisitos particulares – Proyectores, del año 2015, de la International Electrotechnical Commission.
l) Norma IEC 62262: Norma de grados de protección de equipamientos eléctricos contra impactos mecánicos externos proporcionados por envolventes (Código IK), del año 2002, de la International Electrotechnical Commission.
m) Norma IEC 62722-1: Norma de desempeño de luminarias – Parte 1: Requisitos generales, del año 2014, de la International Electrotechnical Commission.
n) Norma IEC 62722-2-1: Norma de desempeño de luminarias – Parte 2-1: Requisitos particulares para luminarias LED, del año 2014, de la International Electrotechnical Commission.
o) Norma IEC/TR 62696: Norma luminarias – Aplicación del código IK IEC 62262, del año 2011, de la International Electrotechnical Commission.
p) Norma IES LM-63-02: Norma de formato de archivo estándar IES para la transferencia electrónica de datos fotométricos e información relacionada, del año 2002, de la Illuminating Engineering Society.
q) Norma IES LM-79-08: Norma de mediciones fotométricas y eléctricas de productos de iluminación de estado sólido, del año 2008, de la Illuminating Engineering Society.
r) NTCS-D: Norma Técnica de Calidad de Servicio para Sistemas de Distribución, cuyo texto refundido y sistematizado fue aprobado mediante resolución exenta Nº 763, de 2019, de la Comisión Nacional de Energía y sus modificaciones posteriores.
s) Ofertas al Proyecto: Propuestas que recibe un Proyecto producto del proceso de licitación del mismo.
t) PE Nº 5/07: Protocolo de Análisis y/o Ensayos de Seguridad de Producto Eléctrico – Luminaria para Alumbrado Público, de la Superintendencia de Electricidad y Combustibles y sus modificaciones posteriores.
u) Proyecto: Plan de una obra de alumbrado público destinada al recambio masivo de luminarias de vías de tránsito vehicular o de Bienes Nacionales de Uso Público destinados al tránsito peatonal, que está financiada con recursos provenientes de la Asignación 002, Ítem 04, Subtítulo 32, del Programa 03 "Programas de Desarrollo Local2, del Capítulo 05, de la Partida 05, Ministerio del Interior y Seguridad Pública, Subsecretaría de Desarrollo Regional y Administrativo, de la Ley de Presupuestos correspondiente al año 2022, cuyos antecedentes son presentados para evaluación técnica de la Subsecretaría de Energía.
Se entenderán como proyectos de recambio masivo aquellas iniciativas que tienen por objeto el reemplazo de luminarias o componentes de éstas, ambos de acuerdo a lo establecido en el decreto supremo Nº 2, de 2014, o en el decreto supremo Nº 51, de 2015, ambos del Ministerio de Energía, sus modificaciones posteriores o disposición que los reemplace.
Por tanto, no serán objeto de tramitación ante la Subsecretaría de Energía, aquellas iniciativas referidas a nuevas instalaciones o construcciones de redes de alumbrado público, o aquellos proyectos que ya hubieren superado las respectivas etapas de tramitación señaladas en la Glosa Nº 8, Asignación 002, Ítem 04, Subtítulo 32, del Programa 03 "Programas de Desarrollo Local", del Capítulo 05, de la Partida 05, Ministerio del Interior y Seguridad Pública, Subsecretaría de Desarrollo Regional y Administrativo, de la Ley de Presupuestos correspondiente al año 2022, esto es, que se encuentren o hayan superado la etapa de elegibilidad de asignación de sus recursos por parte de la Subsecretaría de Desarrollo Regional y Administrativo y/o de ser requerido, hayan obtenido recomendación socioeconómica favorable por parte del Ministerio de Desarrollo Social y Familia.
v) SEC: Superintendencia de Electricidad y Combustibles.
Artículo 2°. Procedimiento
Toda solicitud de evaluación técnica de los Antecedentes de un Proyecto deberá ser presentada, preferentemente en formato digital, enviándose al correo electrónico oficinadepartes@minenergia.cl, junto con los respectivos antecedentes con los nombres, formatos y contenidos que se indican en el artículo 3º del presente instructivo, todo lo cual no deberá superar en su totalidad los 15 MB.
Si los archivos superan en suma los 15 MB, éstos podrán ser cargados a una nube virtual mediante un enlace gratuito de descarga, teniendo la precaución de que cada archivo individual no supere los 30 MB. En caso de requerir envío físico de documentación, ésta se deberá remitir a la Oficina de Partes de la Subsecretaría de Energía, ubicada en Av. Libertador General Bernardo O'Higgins Nº 1449, Edificio Santiago Downtown II, piso 14, comuna de Santiago, Región Metropolitana, o a las respectivas Oficinas de Partes de las Secretarías Regionales Ministeriales de Energía, en ambos casos, de lunes a viernes en días hábiles entre 8:30 hrs. y 14:00 hrs., adjuntando una copia en un soporte electrónico (disco compacto o pendrive) que contenga los antecedentes en formato digital, donde cada archivo individual no deberá superar los 30 MB.
Los antecedentes de un Proyecto deberán siempre ser remitidos o acompañados, por el respectivo oficio conductor de la autoridad competente, dirigido a la Subsecretaría de Energía. Esto es, si la solicitud de evaluación técnica de los antecedentes fuere efectuada por la Subsecretaría de Desarrollo Regional y Administrativo, el referido oficio conductor deberá ser suscrito por su Subsecretario y, si es solicitada por una municipalidad, el referido oficio conductor deberá ser suscrito por su Alcalde.
La evaluación técnica de un Proyecto será realizada por la Subsecretaría de Energía, en un plazo máximo de treinta (30) días hábiles, contado desde la recepción de la totalidad de los antecedentes del mismo, y será efectuada ajustándose a la normativa vigente, particularmente, a las normas del DS2, DS51 y demás normativa referida en el artículo 4° del presente instructivo, como asimismo, a las instrucciones dadas en este instrumento.
Transcurrido dicho plazo, la Subsecretaría de Energía enviará a la Entidad Solicitante de la evaluación técnica un oficio dando cuenta del resultado de la misma. En el referido oficio, la Subsecretaría de Energía podrá aprobar técnicamente el Proyecto, efectuar observaciones a los antecedentes y/o aprobar uno o más de los antecedentes que se indican en el artículo 3º del presente instructivo. Cabe señalar que la aprobación de un antecedente no constituye la aprobación total del Proyecto, la cual se obtendrá una vez que todos los antecedentes se encuentren aprobados por la Subsecretaría de Energía.
Si el referido oficio contuviere observaciones a alguno de los antecedentes enviados para evaluación, éstas, deberán ser subsanadas por la Entidad Solicitante y, solo una vez hecho lo anterior, deberá solicitar nuevamente la evaluación técnica de los antecedentes, sujetándose al mismo procedimiento ya señalado.
En el caso que se aprueben uno o más de los antecedentes que se indican en el artículo 3º del presente instructivo, se podrá remitir la solicitud de evaluación técnica junto con la documentación que resta por ser aprobada técnicamente por la Subsecretaría de Energía, sin que sea necesario hacer nuevamente envío de los antecedentes ya aprobados.
Artículo 3°. Antecedentes para evaluación técnica de proyectos de recambio masivo de alumbrado público
La Entidad Solicitante deberá adjuntar a la solicitud de evaluación técnica de un proyecto de recambio masivo de alumbrado público, los antecedentes, con los contenidos y en los formatos que se indican en la siguiente tabla:
Tabla 1. Antecedentes de un Proyecto

Si la Entidad Solicitante no presentare uno o más antecedentes señalados precedentemente, y no se tratare de un antecedente ya aprobado técnicamente por la Subsecretaría de Energía, o bien, presentare algún antecedente en un formato distinto al indicado en la tabla anterior, la Subsecretaría de Energía, dentro del plazo de diez (10) días hábiles, mediante oficio y/o correo electrónico, solicitará que en un plazo no superior a cinco (5) días hábiles, se subsane la observación de forma y/o se acompañen los antecedentes faltantes respectivos, con indicación de que, si así no lo hiciere, se le tendrá por desistida de su solicitud de evaluación técnica. Lo anterior, en virtud de lo dispuesto en el artículo 31 de la Ley Nº 19.880, que establece bases de los procedimientos administrativos que rigen los actos de los Órganos de la Administración del Estado.
Artículo 4°. Especificaciones técnicas mínimas de un Proyecto
a) Requisitos generales y de eficiencia energética
1. Que, el Proyecto cumpla con la normativa vigente aplicable a instalaciones de alumbrado público, en particular, con lo dispuesto en el DS2; DS51; decreto supremo Nº 8, de 2019, del Ministerio de Energía, que aprueba reglamento de seguridad de las instalaciones de consumo de energía eléctrica; decreto supremo Nº 109, de 2018, del Ministerio de Energía, que aprueba reglamento de seguridad de las instalaciones eléctricas destinadas a la producción, transporte, prestación de servicios complementarios, sistemas de almacenamiento y distribución de energía eléctrica; y NTCS-D.
2. Que, se indique que la materialización del Proyecto se llevará a cabo mediante la presentación de las Declaraciones de sus Instalaciones de Alumbrado Público ante la SEC, dando cumplimento a lo establecido en su resolución exenta Nº 29.935, de 2019, que modifica resolución exenta Nº 1.128, de 11 de junio de 2006, ambas de la Superintendencia de Electricidad y Combustibles (Trámite Eléctrico TE2).
3. Que, se indique que las instalaciones de alumbrado público estarán dotadas de sistemas que regulen los ciclos de funcionamiento de las luminarias, encendido y apagado. Para estos fines, se podrán considerar celdas fotoeléctricas, relojes capaces de ser programados por, al menos, ciclos diarios, de manera de evitar la prolongación innecesaria de los períodos de funcionamiento, u otro mecanismo o tecnología que permita restringir el consumo energético a lo estrictamente necesario sin desmedro de la capacidad lumínica de las instalaciones.
4. Que, no se establezcan requisitos que constituyan posibles barreras de entrada o condicionantes de la adjudicación del Proyecto a un determinado proveedor, tales como marcas comerciales, potencia definida (W), requerimientos de tipo de vidrio de las luminarias, entre otros.
5. Que, los Proyectos que empleen recursos energéticos con tecnologías diferentes a las establecidas en el DS2 o DS51, deberán justificar técnicamente a la SEC una solución distinta, de conformidad con lo establecido en el Artículo 12 del DS2 o el Artículo 13 del DS51. Dicha justificación deberá ser presentada por las personas señaladas en el Artículo 8 del DS2 o el Artículo 9 del DS51, según sea el caso.
b) Requisitos de las luminarias
i) Requisitos mecánicos
1. Que, las luminarias cuenten con un grado de protección IP66 o superior, según la definición establecida en el Artículo 3º, numeral 3.20 del DS2 y en el Artículo 4º, numeral 18 del DS51. Se deberá solicitar que el cumplimiento de este requerimiento sea validado a través de un certificado de ensayo emitido por un organismo de certificación autorizado por la SEC, según la Norma IEC 60529, IEC 60598-1, IEC 60598-2-3, IEC 60598-2-5 o lo indicado en el PE 5/07.
2. Que, si se trata de luminarias tipo "catenarias" en Proyectos de alumbrado público de vías de tránsito peatonal, éstas cuenten con un grado de protección IP55 o superior, de acuerdo con lo dispuesto en el Artículo 17, letra k), numeral iii, del DS51. Se deberá solicitar que el cumplimiento de este requerimiento sea validado a través de un certificado de ensayo emitido por organismo de certificación autorizado por la SEC, según la Norma IEC 60529, IEC 60598-1, IEC 60598-2-3, IEC 60598-2-5 o lo indicado en el PE 5/07.
3. Que, las luminarias cuenten con un grado de protección IK08 o superior, de acuerdo con lo dispuesto en la Norma IEC 62262 y su definición de clasificación de grados de protección IK. Se deberá solicitar que el cumplimiento de este requerimiento sea validado a través de un certificado de ensayo de resistencia al impacto según Norma IEC 62262 o IEC/TR 62696.
4. Que, el acoplamiento de la luminaria permita su conexión horizontal y/o vertical al gancho o brazo al interior de las mismas, sin dejar tuberías ni conductores a la vista.
ii) Requisitos eléctricos
1. Que, se indique que las Ofertas al Proyecto deberán proponer luminarias que dispongan del Certificado de Seguridad de Aprobación, Seguimiento, o Tipo, emitido por un organismo de certificación autorizado por la SEC de acuerdo con lo establecido en el PE Nº 5/07.
2. Que, se indique que el adjudicatario del Proyecto deberá entregar el Certificado de Seguridad de Aprobación o Seguimiento de las luminarias, emitido por un organismo de certificación autorizado por la SEC, de acuerdo con lo establecido en el PE Nº 5/07, previo a la instalación de las mismas.
3. Que, las luminarias tengan un factor de potencia dentro de los límites establecidos en el Artículo 3-10 de la NTCS-D. Se deberá solicitar que el cumplimiento de este requerimiento sea validado a través de un informe de ensayo emitido por un laboratorio de ensayos autorizado por la SEC. Asimismo, se deberá indicar que este requerimiento es sin perjuicio que toda la instalación eléctrica asociada al Proyecto debe cumplir con el factor de potencia que se indica en la referida norma técnica.
4. Que, el equipo eléctrico para las luminarias, soporte variaciones del voltaje nominal de alimentación de 220 [V], según lo establecido en el Artículo 3-1 de la NTCS-D, y frecuencia nominal 50 [Hz], sin que la luminaria deje de operar. Se deberá solicitar que el cumplimiento de este requerimiento sea validado a través de un informe de ensayo emitido por un laboratorio de ensayos autorizado por la SEC.
5. Que, la distorsión armónica de tensión y corriente que genere la luminaria no supere los límites establecidos en el Artículo 3-5 y 3-8, según corresponda, de la NTCS-D. Se deberá solicitar que el cumplimiento de este requerimiento sea validado a través de un informe de ensayo emitido por un laboratorio de ensayos autorizado por la SEC.
iii) Requisitos lumínicos
1. Que, la eficacia luminosa de la luminaria sea de 90 [lm/W] o superior, considerando el flujo total de la luminaria y la potencia total absorbida de la red, de acuerdo con la definición del Artículo 3º, numeral 3.7 del DS2. Se deberá solicitar que el cumplimiento de este requerimiento sea validado a través de un informe de ensayo fotométrico emitido por un laboratorio de ensayos autorizado por la SEC o acreditado por ILAC.
2. Que, se establezca un rango de la Temperatura de Color Correlacionada (TCC) para las luminarias. Dicha definición deberá ser tal que la diferencia entre la máxima y mínima TCC no sea inferior a 1.000K, que la mínima TTC no sea inferior a 1.500K y la máxima no sea superior a 4.500K. Se deberá solicitar que el cumplimiento de este requerimiento sea validado a través de un informe de ensayo fotométrico emitido por un laboratorio de ensayos autorizado por la SEC o acreditado por ILAC.
3. Que, en Proyectos de alumbrado público de vías vehiculares, el valor del Índice de Reproducción Cromática (CRI), sea 60 o superior y para Proyectos de alumbrado público para el tránsito peatonal, dicho valor sea el indicado en Artículo 17, letra k), numeral ii del DS51. Para ambos tipos de Proyectos se considerará la definición de Índice de Reproducción Cromática de acuerdo con lo dispuesto en el Artículo 4, numeral 17 del DS51. Se deberá solicitar que el cumplimiento de este requerimiento sea validado a través de un informe de ensayo fotométrico emitido por un laboratorio de ensayos autorizado por la SEC o acreditado por ILAC.
4. Que, se indique que las Ofertas al Proyecto deben entregar los archivos digitales ".IES" de las luminarias y que dichos archivos estén elaborados bajo la Norma IES LM-63-02 o superior.
5. Que, se indique que las Ofertas al Proyecto deben entregar los ensayos fotométricos de las luminarias, elaborados bajo la Norma IES LM-79-08, CIE 121, IEC 62722-1 o IEC 62722-2-1.
c) Requisitos de los accesorios y conductores
1. Que, los conductores eléctricos que conecten la luminaria con la red de alumbrado público sean nuevos y de sección mínima de 2,5 mm². Asimismo, dichos conductores deben ser resistentes a los rayos ultravioleta en caso de que no se encuentren canalizados. Se deberá solicitar que el cumplimiento de este requerimiento sea validado a través del catálogo o ficha técnica del fabricante.
2. Que, en Proyectos que se lleven a cabo en ambientes costeros o en ambientes con presencia de agentes químicos, según lo establece el Artículo 2º del decreto supremo Nº 8, de 2019, del Ministerio de Energía, que aprueba reglamento de seguridad de las instalaciones de consumo de energía eléctrica, todos los accesorios de la luminaria, tales como pernos, golillas, seguros y otros, sean metálicos, de acero inoxidable o galvanizados en caliente, de tal manera que sean resistentes a la corrosión de agentes atmosféricos o ambientales. Se deberá solicitar que el cumplimiento de este requerimiento sea validado a través de una declaración de conformidad del fabricante o un informe de ensayo emitido por un laboratorio de ensayos acreditado por ILAC.
3. Que, se indique que las luminarias deberán ser suministradas con fusibles y sus correspondientes porta-fusibles aéreos encapsulados.
d) Requisitos de clasificación de vías y niveles de iluminación
1. Que, se definan las clases de alumbrado de las vías que contempla el Proyecto, según lo dispuesto en el Capítulo V y VI del DS2, para Proyectos de alumbrado público de vías de tránsito vehicular y Capítulo V del DS51, para Proyectos de alumbrado público de vías de tránsito peatonal.
2. Que, se indique que los niveles de iluminación de las clases de alumbrado de las vías corresponden a lo dispuesto en el Capítulo V y VI del DS2, para Proyectos de alumbrado público de vías de tránsito vehicular y Capítulo V del DS51, para Proyectos de alumbrado público de vías de tránsito peatonal.
3. Que, se definan los Casos Tipo del Proyecto, necesarios para que las Ofertas al Proyecto evalúen los niveles de iluminación de las vías que poseen una misma clasificación y características geométricas similares. Dichos casos se deberán detallar en la siguiente tabla, de manera similar a los ejemplos Caso Tipo 1, 2 y 3 presentados.
Tabla 2. Casos Tipo

Tabla 3. Clasificación de superficie de calzada según serie "R"

Figura 1. Tipos de disposición de luminarias en una vía

Donde:
1 Unilateral arriba.
2 Unilateral abajo.
3 Bilateral.
4 Tresbolillo.
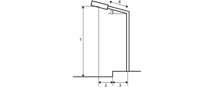
Figura 2. Parámetros relevantes de la disposición de una luminaria

Donde:
1 Altura de Montaje o Altura del Punto de Luz, en metros.
2 Saliente del punto de luz, en metros.
3 Distancia entre el poste y la calzada, en metros.
4 Longitud del brazo o gancho, en metros.
5 Inclinación del brazo o gancho, en grados.
4. Que, se indique que las Ofertas que se realicen para el Proyecto deben entregar una memoria técnica de diseño que cumpla con el Capítulo VIII del DS2, para Proyectos de alumbrado público de vía vehicular y con el Capítulo VII del DS51, para Proyectos de alumbrado público de vía peatonal. Asimismo, se deberá indicar que en dicha memoria se deberán evaluar los niveles de iluminación de los Casos Tipo del Proyecto, de acuerdo con las indicaciones y parámetros que se indican a continuación.
Para efectos de simulación de los niveles de iluminación se deberá considerar el parámetro de la altura de punto de luz equivalente a la altura de montaje indicado en la Tabla 2.
Tabla 4. Parámetros de simulación


Nota: Los resultados de iluminación que se obtengan a partir de las simulaciones se deberán presentar con sólo 1 decimal.
Para la evaluación de la iluminancia vertical y semicilíndrica indicada en Artículo 22, numeral 1 y numeral 2 respectivamente, del DS51, se deberán emplear los parámetros indicados en la Tabla 5.
Tabla 5. Parámetros de simulación de iluminancia Semicilíndrica y Vertical a 1,5 [m] para vías peatonales


Tabla 6. Parámetros de simulación para iluminancia a 1,5 [m] para vías vehiculares


En Proyectos de alumbrado público de vías vehiculares, para dar cumplimiento a lo indicado en el Artículo 18, letra b), del DS2, referido a las vías "sin separación entre usuarios", se deberá considerar la trama de cálculo que se describe a continuación.
Para evaluar que la iluminancia sea al menos de 3,0 lux en un punto a 1,5 metros sobre el plano horizontal de la calzada y equidistante entre parejas de luminarias que se encuentren separadas a una misma distancia, se considerarán los archivos digitales "IES" para cada Caso Tipo, tomando una trama de cálculo con una disposición de 1x3 puntos de cálculo para cada carril de la vía a 1,5 [m] (por ejemplo, 1 carril, trama de 1x3; 2 carriles, trama de 1x6; 3 carriles, trama de 1x9), como se muestra en el ejemplo de la Figura 3.
Figura 3. Trama de cálculo 1 x 6 para 2 carriles para iluminancia a 1,5 [m]

Con todo, se hace presente que el cumplimiento de los requisitos señalados en el presente instructivo no exime del cumplimiento de las demás obligaciones legales, reglamentarias y técnicas vigentes, en particular, aquellas normas contenidas en el decreto supremo Nº 43, de 2012, del Ministerio del Medio Ambiente, que establece norma de emisión para la regulación de la contaminación lumínica, y sus modificaciones posteriores.
Artículo 5°. Dudas o consultas sobre la aplicación del presente instructivo
Para dudas o consultas relacionadas con el presente instructivo, el profesional responsable del Proyecto del respectivo organismo público interesado podrá dirigir las mismas al siguiente correo electrónico: alumbradopublico@minenergia.cl.
Artículo 6°. Modificaciones a los Antecedentes
Cualquier modificación a los Antecedentes de un Proyecto en las materias que aborda el presente instructivo, que se efectúe en forma posterior a la fecha de comunicación por parte de la Subsecretaría de Energía de su aprobación técnica a la Entidad Solicitante, deberá ser comunicada a la referida Subsecretaría, para efectos de que ésta evalúe técnicamente si las modificaciones realizadas, se ajustan a la normativa vigente y asimismo a las presentes instrucciones. El procedimiento para comunicar a la Subsecretaría de Energía dichas modificaciones será el mismo indicado en el Artículo 2º del presente instructivo.
DISPOSICIÓN TRANSITORIA
Artículo único transitorio: A los proyectos de recambio masivo de alumbrado público, cuyas solicitudes de evaluación técnica hayan sido remitidas a la Subsecretaría de Energía de forma previa a la publicación de la presente resolución, les serán aplicables las disposiciones establecidas en la resolución exenta Nº 42, de 27 de abril de 2021, de la Subsecretaría de Energía, que aprueba instructivo para la tramitación de solicitudes de evaluación técnica de proyectos de mejoramiento y/o recambio masivo de alumbrado público que indica y sus anexos, y no les aplicarán las disposiciones del instructivo que se establece en la presente resolución.
ANEXO Nº 1
PLANILLA DE CATASTRO

Nota: Se debe emplear una fila por luminaria, columnas adicionales es opcional, datos destacados en amarillo son obligatorios.
(1) Vehicular o peatonal.
(2) P1, P2, P3, M1, M2, Plaza, etc.
(3) Ver Figura 1 del presente instructivo.
(4) Hormigón, madera, metal, otro.
(5) SAP, SBP, HM, Mercurio, LED, Inducción, otra.
(6) Fotocelda centralizada, fotocelda individual, interruptor horario, reloj astronómico.
(7) Circuito medido AP, directa a red sin medidor.
ANEXO Nº 2
FORMATO REFERENCIAL PARA PLANOS DE CATASTRO

Nota: El formato indicado es referencial, se recomienda que, según el caso, los símbolos tengan formatos distintos para que puedan ser legibles con una impresión blanco y negro, que la información sea trabajada a nivel de capas, y que se indique el responsable de su elaboración.
ANEXO Nº 3
FICHA GENERAL

ANEXO Nº 4
PRESUPUESTO DETALLADO

Nota: La tabla anterior podrá ser adecuada según los tipos de luminarias contempladas en el Proyecto y se podrán agregar más ítems si se considera necesario.
Anótese, publíquese en el Diario Oficial y en el portal www.energia.gob.cl, notifíquese y archívese.- Francisco López Díaz, Subsecretario de Energía.
Lo que transcribo a Ud. para su conocimiento.- Saluda Atte. a Ud., Olvido María García Rodríguez, Jefa División Jurídica (S), Subsecretaría de Energía.