APRUEBA INSTRUCTIVO DE TRABAJO INTERNO PARA CUSTODIA Y GESTIÓN DE GARANTÍAS
    Núm. 4.737 exenta.- Santiago, 16 de noviembre de 2018.
    Vistos:
    Lo dispuesto en la resolución exenta Nº 1.174 del 21 de marzo de 2017, que delega facultades para la firma de este documento del Jefe DAF.
    Considerando:
    1. Que, se hace necesario contar en el Servicio Nacional de Capacitación y Empleo, con instrucciones para la custodia, administración y control de garantías.
    2. Que, existe resolución exenta Nº 2.735, del 4 de julio de 2016, sobre procedimiento de custodia, administración y control de Garantías, el que se debe reemplazar, en virtud que existen cambios que se deben integrar en un nuevo procedimiento.
    Resuelvo:

    1. Aprueba el procedimiento para la custodia y gestión de garantías.
    2. Elimínese la resolución exenta Nº 2.735 de fecha 4 de julio de 2016, que aprueba la instrucción de trabajo interno, para la custodia, administración y control de garantías, así como cualquier otro acto administrativo o documento que exista relacionado.
    Anótese, comuníquese y archívese.- Orlando Mancilla Vásquez, Jefe Departamento de Administración y Finanzas.
    SENCE
    INSTRUCTIVO DE TRABAJO INTERNO PARA CUSTODIA Y GESTIÓN DE GARANTÍAS

    Subunidad de Tesorería / Unidad de Gestión Financiera Departamento de Administración y Finanzas
    ÍNDICE
    1. Objetivo
    2 Alcance
    3. Referencias
    4. Definiciones
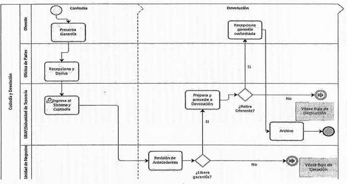
    5. Flujo custodia y devolución
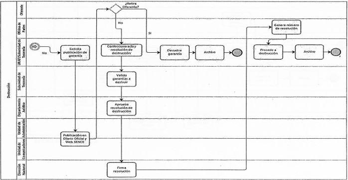
    5.1 Flujo de destrucción
    5.2 Flujo de ejecución
    6.0 Matriz global (4 Procedimientos)
    7.0 Responsabilidades del procedimiento
    7.1 De los Encargados/as o Sub-Eencargados/as de Unidad o Programas Nacional/Regional (Contraparte técnica)
    7.2 De la Encargados URAF y de la Subunidad de Tesorería (DAF)
    7.3 Del Departamento Jurídico
    7.4 Del Encargado de Oficinas de Partes
    8.0 Otras consideraciones (4 Procedimientos)
    9.0 Anexo de arqueo
    1. OBJETIVO
    Este procedimiento contempla los pasos administrativos que deben realizar cada Unidad y Dirección Regional de Sence para la respectiva tramitación de las distintas fases que puede presentar una garantía, ya sea su custodia como su ejecución, entre otras.
    2. ALCANCE
    Este procedimiento aplica a todas las Direcciones Regionales y Departamentos de este Servicio cuya responsabilidad en estas materias, sea liberar, ejecutar, devolver o custodiar documentos en garantía.
    Déjese sin efecto resolución exenta Nº 2.735 sobre custodia, control y administración de garantías, de fecha 4 de julio del año 2016.
    3. REFERENCIAS
    . Cada contrato de prestación y servicios que suscriba Sence con cada proveedor y las convocatorias o bases de cada programa que acuerda Sence con las OTEC. Todo lo anteriormente mencionado sustenta la obligatoriedad de presentar documentos en garantía a este Servicio.
    . Artículos Nos 31, 43 y 68 del Reglamento de Ley de Compras públicas de Chile.
    4. DEFINICIONES
    .

    5. FLUJO CUSTODIA Y DEVOLUCIÓN

    .

    5.1 FLUJO DE DESTRUCCIÓN

    .

    5.2 FLUJO DE EJECUCIÓN

    .

    6.0 MATRIZ GLOBAL (4 PROCEDIMIENTOS)

    .
    .
    7.0 RESPONSABILIDADES DEL PROCEDIMIENTO
    7.1 De los Encargados/as o Sub-Encargados/as de Unidad o Programas Nacional/Regional (Contraparte técnica)
    a. Validar que los datos contenidos en la garantía estén de acuerdo a los requisitos establecidos en las bases,
    b. Verificar la validez y autenticidad de las garantías presentadas por las OTEC y proveedores que caucionan los servicios prestados a Sence, Deberá quedar adjunto al comprobante de ingreso de la garantía al sistema, respaldo del proceso de validación.
    .
    El resto de las aseguradoras no cuenta con una página de verificación, por lo que se sugieren dos instancias:
    b. 1) Contactar al Tomador (Oferente) para solicitar un certificado de autenticidad.
    b. 2) Contactar mediante mesas telefónicas centrales en las aseguradoras el cómo solicitarlos.
    En caso de que el documento no sea válido, deberá informar dentro de la Dirección Regional e iniciar las acciones necesarias ante quién corresponda.
    c. Realizar el seguimiento y control de cumplimiento de los plazos, trabajos y contenidos del contrato o convenio.
    d. Solicitar al tomador del/los documento/s en garantía, la renovación de éstos en caso de retraso en el inicio del/los curso/s o prestación de servicios
    e. Controlar periódicamente al Sistema de Gestión de Boletas de Garantía y verificar el estado de las garantías que se encuentran correctamente asociadas a la Unidad/Programa
    f. Autorizar oportunamente a través del Sistema de Gestión de Boletas de Garantía la devolución del documento en garantía, según motivos señalados en siguiente tabla:
    .
    g. Solicitar oportunamente la devolución de los documentos en garantía a través del Sistema de Gestión de Boletas de Garantía (http://interno.sence.local/BoletaGarantia/hwinicio.aspx), indicando la causal.
    h. Emitir informe para solicitar el cobro de multas o ejecución de garantías, en caso de incumplimiento de contrato, informando las causas y procesos realizados. Este informe, detallará el grado efectivo de incumplimiento y la relación de los montos involucrados. Éste deberá ser enviado al Departamento Jurídico de este Servicio Nacional, en un plazo máximo 45 días corridos antes del vencimiento efectivo del documento, es decir, considerando endosos o prórrogas.
    i. En caso de que una garantía fuese a ser cobrada (ejecutada) saber claramente cuáles son los plazos de vencimiento de presentación de las garantías y tener en cuenta el tipo de documento a ejecutar:
    1. Boleta de garantía: Su plazo de vencimiento para ejecución es el que aparece en el documento impreso; no obstante, se debe verificar que no exista un Anexo Prórroga que extienda la vigencia del documento original.
    2. Pólizas de Garantía: Su plazo de vencimiento será el que aparece en la póliza, no obstante, se deberá verificar si tiene o no endoso asociado que modifique la fecha de vencimiento original.
    3. Certificado de Fianza: Su plazo de vencimiento será el que aparece en el documento.
    4. Vale a la Vista/Depósito a la Vista: No cuenta con fecha de vencimiento, pero si con una validez legal de 2 años, son pagaderas a la vista.
    7.2 De la Encargados URAF y de la Subunidad de Tesorería (DAF)
    Es la encargada de la custodia de los documentos en garantía, será responsable de:
    a. Llevar un control informático, denominado Sistema de Gestión de Boletas de Garantía (link: http//interno.sence.local/BoletaGarantia/hwinicio.aspx), en el que se registrará el ingreso de todas las garantía y endosos para su custodia.
    b. Custodiar físicamente los documentos en garantía en kárdex o caja fuerte
    c. Realizar devolución de los documentos en garantías previa autorización de la Unidad Requirente.
    d. Archivar documentación de devolución (carta de devolución de sistema firmada en caso de que sea retirada por oferente; antecedentes presentados al momento de la entrega física en oficina de partes; Copia del RUT de la Empresa; Copia de la cédula de Identidad de quien retira)
    e. Realizar dos arqueos de garantía obligatorios durante el año, de acuerdo con las siguientes fechas:
    1. Arqueo Junio: Fecha máxima de entrega 15 de junio o el día hábil siguiente si el 15 de junio fuese sábado o domingo, con fecha de corte al 31 de mayo.
    2. Arqueo Diciembre: Fecha máxima de entrega 15 de diciembre o el día hábil siguiente si el 15 de diciembre fuese sábado o domingo, con fecha de corte al 30 de noviembre.
    f. Será responsabilidad de funcionarios mencionados en resolución N° 3938 de fecha 26.09.2018 realizar las acciones administrativas ante las entidades bancarias o compañías de seguro, a fin de ejecutar las garantías que sean instruidas a través de Resolución Exenta visada por el (la) Director (a) Nacional o Director (a) Regional según corresponda.
    g. Será responsabilidad del Encargado URAF solicitar un nuevo perfil para el ingreso en el Sistema de Gestión de Garantías, en caso que la persona que había sido asignada deje de ser funcionario del Servicio, considerando para este efecto que su calidad jurídica debe ser contra o planta.
    7.3 Del Departamento Jurídico
    a. Revisar Informe de incumplimiento para cobro de multas o cauciones de contratos, emitidos por la contraparte técnica y pronunciarse respecto de su procedencia.
    b. Solicitar al Departamento de Administración y Finanzas, la gestión de cobranza del documento en garantía, a través de la emisión de una resolución exenta.
    7.4 Del Encargado de Oficinas de Partes
    a. Responsable de enviar a más tardar al día hábil siguiente de su recepción, las boletas de garantía en original, mediante documento interno, al Encargado URAF o Subunidad de Tesorería (DAF) según corresponda.
    b. Enviar la Resolución Exenta correspondiente a la disposición de cobro del Documento en Garantía señalado en la misma, tanto por Correo Certificado mediante Correos de Chile como del envío por correo electrónico señalado en la distribución.
    8.0 OTRAS CONSIDERACIONES (4 PROCEDIMIENTOS)
    DE LA RECEPCIÓN:
    . Las garantías serán recepcionadas únicamente por las Oficinas de Partes del Servicio Nacional de Capacitación y Empleo.
    DE LA CUSTODIA:
    . Siempre ingresar endosos y prórrogas como documentos anexos a la garantía, no como ingreso de documentos nuevos.
    . Archivar en lugar adecuado para resguardo de las garantías (Kárdex, caja fuerte, mueble con llave), se sugiere ordenar por Rut
    . Las garantías de seriedad de la oferta deben ser ingresadas en un plazo no mayor a 1 día, (aunque se incluya en indicador) esto por afectar licitaciones.
    . Realizar dos arqueos de garantía obligatorios durante el año de acuerdo con anexo de arqueo.
    DE LA DEVOLUCIÓN:
    . Una vez liberada la garantía, esperar efectivamente los 5 días corridos para que el oferente se acerque a retirar el doc., antes de enviar por correo certificado
    . Para devolver el documento la empresa/otec/tomador no debe contar con pendientes contra Sence en materia judicial, previsional, etc.
    . SIEMPRE endosar el documento, es decir, colocar el timbre "DEVUELTA AL TOMADOR SIN ULTERIOR RESPONSABILIDAD PARA EL SENCE" en el documento garante a devolver.
    . De acuerdo con los plazos establecidos en las bases, respecto del oferente adjudicado, la devolución del documento en garantía se concretará solo vez entregada la garantía de Fiel Cumplimiento y firmado el contrato o convenio entre las partes.
    . Se sugiere que el archivo de garantías devueltas sea por el N° interno que aparece en la parte superior derecha del doc., no obstante, lo anterior si existiese un método que URAF estime conveniente para mejorar este orden, se deja a libre disposición.
    9.0 ANEXO DE ARQUEO
    Subunidad de Tesorería / Unidad de Gestión Financiera
    Departamento de Administración y Finanzas
    Realizar dos arqueos obligatorios durante el año e informar de los resultados a la Subunidad de Tesorería
    1. Arqueo junio: Fecha máxima de entrega 15 de junio o el día hábil siguiente si el 15 de junio fuese sábado o domingo, con fecha de corte al 31 de mayo.
    2. Arqueo diciembre: Fecha máxima de entrega 15 de diciembre o el día hábil siguiente si el 15 de diciembre fuese sábado o domingo, con fecha de corte al 30 de noviembre.
    A. Generar reporte de garantías ingresadas y filtrar aquellas que se encuentren en custodia (Estados: Aprobada-Autorizadas para devolución)
    B. Contrastar dicha información con la documentación física
    C. Cualquier discrepancia en las antecedentes contenidos en el sistema o documento faltante/sobrante, deberá ser regularizada de inmediato. Las correcciones deberán ser solicitadas a través de correo a la Subunidad de Tesorería, las eliminaciones deben ser solicitadas a través de sistema.
    D. El arqueo deberá ser efectuado por una persona distinta a quién ingresa la documentación al sistema de garantías, quién deberá firmar junto al Encargado/a URAF en regiones o la Subunidad de Tesorería (DAF) el formulario de arqueo.
    E. Los arqueos deberán ser realizados en el formato entregado, el cual se encuentra inserto en el Sistema de Gestión de Garantías.
    F. El arqueo realizado en regiones deberá ser remitido a la Subunidad de Tesorería a través de Ordinario y deberá detallar un resumen que contenga lo siguiente:
    .
    .