ESTABLECE LAS CARACTERÍSTICAS QUE DEBE CUMPLIR EL VEHÍCULO ENTRANTE PARA RECIBIR EL INCENTIVO BUS ESTÁNDAR RED DETERMINADO EN EL ARTÍCULO 7º, DEL DECRETO SUPREMO Nº 44, DE 2011, DEL MINISTERIO DE TRANSPORTES Y TELECOMUNICACIONES
Núm. 3.149 exenta.- Santiago, 3 de septiembre de 2021.
Vistos:
Lo dispuesto en el Nº 6 del artículo 32 de la Constitución Política de la República; el decreto con fuerza de ley Nº 343, de 1953, del Ministerio de Hacienda, que determina organización y atribuciones de la Subsecretaría de Transportes; el decreto con fuerza de ley Nº 279, de 1960, del Ministerio de Hacienda, que fija normas sobre atribuciones del Ministerio de Economía en materia de transportes y reestructuración de la Subsecretaría de Transportes; la ley Nº 18.059, que asigna al Ministerio de Transportes y Telecomunicaciones el carácter de organismo rector nacional de tránsito y le señala atribuciones; el decreto ley Nº 557, de 1974, del Ministerio del Interior, que crea el Ministerio de Transportes; la Ley Orgánica Constitucional de Bases Generales de la Administración del Estado Nº 18.575, cuyo texto refundido, coordinado y sistematizado fue fijado por el DFL Nº 1-19.653, de 2000, del Ministerio Secretaría General de la Presidencia; la ley Nº 20.378, que Crea un Subsidio Nacional para el Transporte Público Remunerado de Pasajeros; la ley Nº 20.422, que establece normas sobre igualdad de oportunidades e inclusión social de personas con discapacidad; el decreto supremo Nº 122 de 1991, del Ministerio de Transportes y Telecomunicaciones, que fija requisitos dimensionales y funcionales a vehículos que presten servicios de locomoción colectiva urbana que indica, modificado por el decreto exento Nº 1.971, de 2017, del mismo Ministerio; el decreto supremo Nº 142, de 2010, de los Ministerios de Desarrollo Social y Familia y de Transportes y Telecomunicaciones, que aprueba Reglamento de la ley Nº 20.422, que establece normas sobre igualdad de oportunidades e inclusión social de personas con discapacidad, relativo al transporte público de pasajeros; el decreto supremo Nº 44, de 2011, del Ministerio de Transportes y Telecomunicaciones, que aprueba el reglamento del programa especial de renovación de buses, minibuses, trolebuses y taxibuses; la resolución Nº 7, de 2019, de la Contraloría General de la República, que Fija Normas sobre Exención de Trámite de Toma de Razón; y en las demás normas que resulten aplicables.
Considerando:
1º Que, en la ley Nº 20.378, se estableció un artículo cuarto transitorio, en el cual se dispone un aporte especial a los Gobiernos Regionales para el transporte y conectividad, el cual incluye la ejecución de un programa especial mediante el cual se facultó a dichas entidades para convocar a un proceso de renovación de buses, minibuses, trolebuses y taxibuses.
2º Que, dicho Programa Especial de Renovación de Buses fue reglamentado mediante el decreto supremo Nº 44, de 2011, del Ministerio de Transportes y Telecomunicaciones.
3º Que el artículo 7º del referido cuerpo normativo estableció la posibilidad de entregar un incentivo adicional denominado Bus Estándar Red (BER) a los vehículos entrantes que tengan las características que establezca por resolución el Ministerio de Transportes y Telecomunicaciones.
4º Que, atendido lo expuesto, mediante la presente la resolución se establecerán las características que deben cumplir los vehículos entrantes para recibir el bono Bus Estándar Red determinado en el artículo 7º del decreto supremo Nº 44, de 2011, del Ministerio de Transportes y Telecomunicaciones.
Resuelvo:
Artículo 1º: Establécese las características que deben cumplir los vehículos entrantes para recibir el bono Bus Estándar Red determinado en el artículo 7º del decreto supremo Nº 44, de 2011, del Ministerio de Transportes y Telecomunicaciones:
1. DIMENSIONES GENERALES.
a) Longitud: Mayor o igual a 8 metros.
El largo del voladizo trasero no podrá exceder del 65% de la distancia entre ejes.
La longitud será considerada entre los extremos anterior y posterior del vehículo.
b) Ancho: Menor o igual a 2,60 metros.
La proporción entre el ancho del vehículo y la distancia entre las caras externas de las ruedas del eje trasero será, como máximo, de un 115%.
En la medida del ancho del vehículo no serán considerados los espejos retrovisores exteriores ni sus soportes.
c) Altura exterior: Menor o igual a 4,20 metros, medido desde el suelo.
2. REQUISITOS TÉCNICOS RELATIVOS A CAPACIDAD DE PASAJEROS.
Para los efectos de las exigencias de número de asientos y número total de pasajeros que se indican en la letra c) siguiente, se debe contemplar:
a) Superficie total disponible para pasajeros (S0): se determinará descontando de la superficie del piso del vehículo, las siguientes:
a.1) La superficie del puesto del conductor;
a.2) La superficie de los peldaños al interior del bus;
a.3) La superficie de todas las zonas en que no sea posible ubicar pasajeros.
b) Superficie disponible para los pasajeros de pie (S1): se determinará restando de S0, lo siguiente:
b.1) La superficie de las zonas que no son accesibles al pasajero de pie cuando todos los asientos están ocupados, con excepción de los asientos abatibles en caso de que el vehículo los disponga;
b.2) La superficie de las zonas que se encuentran situadas delante de un plano vertical que pasa por el centro del respaldo del asiento del conductor, en su posición más alejada del volante de dirección, y por el centro del espejo retrovisor exterior situado al lado derecho del vehículo;
b.3) La superficie del espacio reservado para silla de ruedas.
c) Número total de pasajeros:
- Número de asientos (A): 25 asientos, incluidos asientos abatibles y asiento del conductor.
Asimismo, el asiento doble que se indica en el numeral 7 de este artículo será contabilizado como una unidad.
- Número total de pasajeros (N): El número total de pasajeros transportados se calculará de la siguiente manera:

donde:
PBV: Peso bruto total del vehículo.
POM: Peso del vehículo en orden de marcha, incluye la tara del vehículo, carga de combustible, y herramientas normales, incrementado en 75 kg para el peso del conductor.
q: peso promedio de un pasajero, igual a 65 kg.
s: área necesaria para un pasajero de pie, igual a 0,167 m².
3. PUERTAS DE SERVICIO.
a) Cantidad y ubicación:
Los buses deberán tener, a lo menos, dos puertas de servicio de entrada baja, debiendo ser, a lo menos, una de ellas doble, pudiendo ubicarse en la parte delantera o central del bus.
Todas las puertas de servicio deberán estar situadas en el lado del vehículo próximo al borde de la calzada correspondiente a la dirección del tráfico.
Los buses deberán tener una plataforma que permita el acceso de usuarios con movilidad reducida, la cual deberá tener superficie antideslizante, ser de fácil accionamiento, permitir acceso expedito, estable y seguro y estar ubicada lo más próxima al espacio y anclaje para silla de ruedas. Con todo, desde el exterior del vehículo deberá ser posible acceder al espacio y anclaje para silla de ruedas, con una silla de ruedas que tenga las dimensiones indicadas en la figura Nº 1 que a continuación se muestra:
Longitud total: 1.200 mm.
Anchura total: 700 mm.
Altura total: 1.090 mm
Nota: Una persona sentada en una silla de ruedas añade 50 mm. a la longitud total y alcanza una altura de 1.350 mm. por encima del suelo.
La plataforma deberá tener un ancho y largo mínimo de 900 mm y 630 mm, respectivamente.
Los perfiles de la plataforma deberán ser amarillos, preferentemente con propiedades reflectantes y con sus bordes externos redondeados. En la imposibilidad de aplicación de perfil, será aceptada cualquier otra forma de señalización en su contorno para la visibilidad superior y frontal de sus límites. No deberán existir cantos vivos y desniveles que comprometan la seguridad de los usuarios. Su superficie deberá ser capaz de resistir una presión igual o superior a 300 kgf/m².
La plataforma deberá mantener sus propiedades en cualquier condición climática.
El accionamiento de la plataforma debe ser ejecutado por medio de manillas de dimensiones mínimas de agarre interior de 110 mm y de 25 mm de diámetro para permitir su total empuñadura. La manilla deberá ser curva, de cantos redondeados y estar instalada en uno o dos puntos de la plataforma que faciliten la aplicación de la fuerza para su accionamiento. En condición de reposo la referida manilla deberá quedar a nivel de la superficie de la plataforma.
Las manillas antes descritas podrán reemplazarse por un mecanismo de fácil accionamiento del tipo palanca o manilla retráctil que satisfaga las necesidades de esfuerzo para accionar el peso de la plataforma. Cualquier mecanismo no deberá provocar desniveles o cantos que comprometan la seguridad y circulación de pasajeros.
En caso que el vehículo cuente con una plataforma accionada mediante un mecanismo eléctrico, deberá cumplir con alguna de las siguientes normas internacionales que se encuentren vigentes:
- ABNT NBR 15646 Acessibilidade - Plataforma elevatória veicular e rampa de acesso veicular para acessibilidade em veículos com características urbanas para o transporte coletivo de passageiros - Requisitos de desempenho, projeto, instalacao e manutencao, de Brasil;
- Reglamento Nº 107 de la Comisión Económica de las Naciones Unidas para Europa (CEPE-ONU), sobre disposiciones uniformes relativas a la homologación de vehículos de la categoría M2 o M3 en lo que respecta a sus características generales de construcción;
b) Dimensiones:
Las dimensiones mínimas, en milímetros, del espacio libre con las puertas abiertas serán:

Para el cumplimiento del ancho mínimo del espacio libre antes descrito no se considerarán los pasamanos ubicados en las puertas.
c) Requisitos funcionales:
c.1) La apertura y cierre de todas las puertas de servicio deben ser realizadas por un dispositivo eléctrico o neumático, accionado por el conductor desde su puesto de mando.
Las puertas de servicio deberán ser construidas de modo que cuando estén completamente cerradas, no puedan abrirse bajo la presión de los pasajeros eventualmente apoyados en ella.
El sistema de cierre y apertura de puertas deberá contar con controles independientes para la puerta de subida respecto de la o las de bajada.
Todas las puertas de servicio deberán disponer de un sistema de aviso del tipo acústico y luminoso, que indique con anticipación al pasajero la apertura y cierre cuando éstas sean accionadas.
La señal acústica cuando se encuentre activada en su nivel sonoro máximo, no deberá sobrepasar el valor establecido para el ruido interior, en el ensayo estacionario, establecido en el decreto Nº129, de 2002, del Ministerio de Obras Públicas, Transportes y Telecomunicaciones, que establece norma de emisión de ruidos para buses de locomoción colectiva urbana y rural, para los buses medianos y pesados [82 dB(A)], o el que en un futuro lo reemplace.
Además, el sistema de operación de las puertas deberá contar con un dispositivo de seguridad que impida que las puertas sean abiertas mientras el vehículo se encuentre en movimiento. A su vez, deberá impedir que el vehículo sea puesto en movimiento cuando las puertas se encuentren abiertas.
En caso de emergencia toda puerta de servicio debe poder, cuando el vehículo esté detenido, ser abierta desde el interior, y si no está bloqueada, desde el exterior mediante mandos, esté o no en funcionamiento el sistema de suministro energético.
En el caso de un mando interior, debe estar colocado a 300 mm o menos de la puerta y a una altura no inferior a 1.600 mm por encima del piso del vehículo.
Dicho dispositivo deberá contar con un sistema anti-aplastamiento con ajuste de sensibilidad y posibilidad de desactivación que detecte una colisión con un pasajero u objeto durante el movimiento de la apertura o cierre en al menos una oportunidad, para luego cerrar las puertas íntegramente.
El procedimiento de apertura y cierre de las puertas no podrá demorar más de 5 segundos en cada una de las acciones de apertura o cierre, sin contabilizar aquellos casos donde opere el sistema de anti-aplastamiento.
El dispositivo deberá estar dotado con un mecanismo de fácil operación que permita la apertura de las puertas por un comando distinto ante un evento de emergencia.
Dicho mecanismo deberá reunir las características en cuanto a su instalación y ubicación en el bus que minimicen su accionamiento en circunstancias distintas a una emergencia, al mismo tiempo de permitir la rápida acción en caso de emergencia.
El comando de accionamiento de las puertas deberá distinguir e identificar el accionamiento de cada puerta en forma individual y de todas en su conjunto.
El panel de instrumentos deberá contar con señales visuales que indiquen que las puertas están abiertas o cerradas y alerten en caso de que alguna de éstas no pueda cerrar completamente. Adicionalmente, debe contar con alguna señal visual que identifique la puerta cuya apertura ha sido solicitada a fin de permitir al conductor sólo abrir la o las puertas que han sido solicitadas.
c.2) Los bordes libres de las puertas que eventualmente puedan aprisionar a un pasajero en la operación de cierre, deberán estar provistos de una protección elástica, a todo su largo y a cada lado, de modo que el cierre de las puertas sea hermético y no se haga por contacto de partes duras.
Las puertas deberán estar construidas e instaladas para que cuando estén cerradas reduzcan el ingreso de aire, ruido, calor y polvo al interior de la carrocería.
c.3) Las puertas de servicio deberán tener una superficie vidriada que deberá permitir la visibilidad del conductor del vehículo hacia el exterior. Si la visibilidad directa no es la adecuada, deberán instalarse dispositivos ópticos u otros que permitan al conductor detectar desde su asiento la presencia de un pasajero en la zona contigua inmediata, tanto interior como exterior, de cada puerta de servicio.
c.4) Cada puerta que abra hacia el interior o exterior del vehículo y su mecanismo estarán concebidos de modo que, al moverse, no cause daño a los pasajeros en condiciones normales de uso. Cuando sea necesario se instalarán sistemas de protección adecuados.
d) Acceso a las puertas de servicio:
El espacio libre que se extiende hacia el interior del vehículo desde las puertas de servicio deberá permitir la libre pasada de un panel rectangular de 100 mm de espesor, 450 mm de ancho y 700 mm de alto desde el piso, que tiene sobrepuesto simétricamente sobre él un segundo panel de 550 mm de ancho, 1.100 mm de altura y de igual espesor.
4. ESPACIO Y ANCLAJE PARA SILLA DE RUEDAS.
El bus deberá contar con un espacio especial destinado para usuarios en silla de ruedas. Este espacio deberá estar lo más próximo a la plataforma a que se refiere el número 3 anterior. El espacio mínimo deberá ser de 900 x 1.400 mm., siendo el eje de simetría de la silla paralelo con el eje longitudinal del bus. Deberá existir un espaldar, consistente en una franja de 1300 mm. de alto por 320 mm de ancho, aproximadamente, sobre el cual se arrime el respaldo de la silla de ruedas. Dicho espaldar deberá permitir un apoyo estable del respaldo de la silla de ruedas.
En este espacio especial, la superficie del piso deberá ser de material antideslizante.
Asimismo, deberán existir pasamanos laterales para facilitar la entrada y salida de los usuarios, ubicados a una altura aproximada de 750 mm separada a lo menos 40 mm. de la carrocería y de un diámetro no superior a 40 mm.; y mecanismos de sujeción para la silla, los cuales deberán estar anclados a un elemento estructural del vehículo. Este mecanismo de sujeción debe tener un sistema sencillo y rápido de operar y que permita utilizar el área como espacio libre cuando no sea usado por personas en silla de ruedas. Deberá contar, además, con un cinturón de seguridad de tres puntas con pretensor destinado a la persona que viaje en la silla y contar con un sistema de aviso de parada, cuya señal acústica permita diferenciarla de las señales del resto del vehículo.
Se deberá asegurar la correcta circulación, libre de escalones u obstáculos, de una silla de ruedas desde la puerta de acceso en donde se encuentre la plataforma hasta el espacio destinado a usuarios en silla de ruedas, considerando un ancho mínimo de 800 mm en el espacio de circulación y el radio de giro de la silla de ruedas, en el trayecto hacia el espacio destinado.
5. SALIDAS DE EMERGENCIA.
a) Cantidad:
Los buses deberán contar, a lo menos, 3 salidas de emergencia:
Para verificar la cantidad mínima de salidas de emergencia indicadas, se excluirán las puertas de servicio y las escotillas de ventilación que puedan ser utilizadas como salidas de emergencia.
b) Ubicación:
b.1) Las salidas de emergencia deberán estar distribuidas uniformemente a lo largo de todo el bus;
b.2) Los accesos a las salidas deberán estar libres de obstáculos;
b.3) Podrá existir una ventana de emergencia en la pared posterior del vehículo.
c) Dimensiones mínimas:
c.1) Ventana de emergencia:
c.1.1) La superficie de la ventana de emergencia deberá ser a lo menos de 0,4 m2. Debe poder inscribirse en esta superficie un rectángulo de 500 mm por 700 mm.
c.1.2) En el caso de una ventana de emergencia situada en la cara trasera del vehículo, si el fabricante no provee una ventana de emergencia con las dimensiones mínimas prescritas más arriba, debe poder inscribirse en la abertura de la ventana de emergencia un rectángulo de 350 mm de alto y 1.550 mm de ancho. Los ángulos del rectángulo podrán estar redondeados con un radio de curvatura no superior a 250 mm.
c.2) Escotilla de emergencia:
La superficie de la abertura de la escotilla deberá ser, a lo menos, de 0,4 m². Además, deberá poder inscribirse en esta superficie un rectángulo de 500 mm por 700 mm.
d) Requisitos funcionales:
d.1) Requisitos funcionales para las ventanas de emergencia. Toda ventana de emergencia deberá:
d.1.2) Poder ser accionada fácil e instantáneamente desde el interior del vehículo, mediante un dispositivo adecuado, o bien,
d.1.3) Ser de vidrio de seguridad fácilmente rompible.
Esta disposición excluye la posibilidad de utilizar cristales de vidrio laminado o de material plástico. Junto a cada ventana de emergencia se colocará un dispositivo, fácilmente accesible desde el interior del vehículo, para poder romper la ventana de emergencia.
d.1.4) Toda ventana de emergencia que pueda ser bloqueada desde el exterior deberá construirse de tal modo que pueda abrirse en todo momento desde el interior del vehículo.
d.1.5) La altura entre la arista inferior de una ventana de emergencia colocada en la parte lateral del vehículo y el piso situado inmediatamente debajo (excluyendo las variaciones locales como la presencia de una rueda o de la caja de transmisión) no debe ser mayor de 1.200 mm, ni menor de 650 mm.
d.2) Requisitos funcionales para las escotillas de emergencia:
d.2.1) Toda escotilla de emergencia debe funcionar de forma que no impida el libre paso desde el interior o exterior del vehículo.
d.2.2) Las escotillas de emergencia sólo podrán ubicarse en el techo del vehículo y deberán ser extraíbles, abisagradas o de vidrio de seguridad fácilmente rompible.
d.2.3) Las del tipo extraíble no deberán desprenderse totalmente del vehículo después de accionadas, de manera que la escotilla no suponga un peligro para otras personas. El funcionamiento de las escotillas de emergencia extraíbles debe protegerse eficazmente contra su accionamiento involuntario.
d.2.4) Las escotillas de emergencia con bisagras llevarán éstas en el borde anterior o bien en el posterior y se abrirán hasta un ángulo de 100° como mínimo.
d.2.5) Las escotillas de emergencia deben poder ser abiertas o retiradas fácilmente desde el interior y desde el exterior. No obstante, este requisito no debe interpretarse en el sentido de excluir la posibilidad de bloquear la escotilla de emergencia con el fin de cerrar el vehículo cuando éste no esté vigilado, con la condición de que la escotilla de emergencia pueda ser siempre abierta o retirada desde el interior por el mecanismo normal de apertura o de extracción. En el caso de una escotilla fácilmente rompible, deberá colocarse junto a la misma un dispositivo, fácilmente accesible desde el interior del vehículo, para poder romper la escotilla.
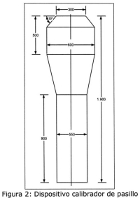
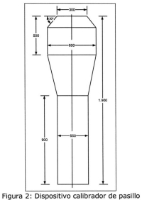
6. PASILLO
El pasillo, deberá estar diseñado y construido de modo de permitir la libre pasada de un dispositivo calibrador consistente en dos cilindros coaxiales entre los cuales se intercalará un tronco de cono invertido que deberá cumplir con las siguientes dimensiones:

El diámetro del cilindro superior podrá reducirse en la parte superior a 300 mm cuando vaya provisto de un chaflán que sobrepase los 30° respecto de la horizontal (Figura 2).

Asimismo, cuando el vehículo presente diferencias en el área destinada a pasillos en sus diferentes dimensiones de altura y anchura respecto a los requisitos señalados en este numeral, se considerará aprobado cuando dichas áreas cumplan con las dimensiones establecidas en el numeral 7.7.5 Pasillos del Reglamento Nº 107 de la Comisión Económica de las Naciones Unidas para Europa (CEPE-ONU), sobre disposiciones uniformes relativas a la homologación de vehículos de la categoría M2 o M3 en lo que respecta a sus características generales de construcción.
7. ASIENTOS
a) Asientos de pasajeros:
a.1) Dimensiones:
Las dimensiones de los asientos serán las señaladas en la Figura 3 y en la siguiente tabla:

(1) Distancia medida entre el piso y un plano horizontal tangencial a la parte delantera de la cara superior del sillín.
(2) Anchura medida desde los planos verticales tangenciales a los bordes laterales del sillín.
(3) El ancho mínimo del espacio disponible para cada plaza deberá ser el doble de la medida tomada a partir de un plano vertical que atraviesa el eje de dicha plaza a una altura comprendida entre los 270 mm. y 650 mm. por encima del sillín del asiento no comprimido.

a.2) Distribución
a.2.1) El piso en la zona de los asientos deberá estar al mismo nivel que el piso del pasillo de circulación, salvo en la zona de los cubre-ruedas, en la zona en que el pasillo se encuentre inclinado o, en los vehículos con motor trasero, en que se permitirá que las dos últimas corridas de asientos estén a una altura más elevada.
En el caso de asientos ubicados sobre los cubre-ruedas, la zona del piso ubicada inmediatamente delante del asiento respectivo deberá ser una plataforma plana para apoyo de los pies de los pasajeros.
Dicha plataforma deberá ubicarse perpendicular al punto inferior de medición de altura y con un ancho, a lo menos, igual al ancho mínimo del espacio disponible para cada plaza. Deberá ser revestida con el mismo material aplicado en el piso bajo los asientos, de manera de proveer el máximo confort y debida comodidad de los pies en posición horizontal. En caso que exista espacio libre entre la citada plataforma y un panel o asiento instalado inmediatamente al frente, éste no podrá ser superior a 30 mm.
Los asientos ubicados en las zonas descritas en el primer inciso de este numeral deberán estar instalados de forma continua y homogénea. No se permitirán asientos cuya alineación de altura sea distinta entre sí, pudiendo existir una plataforma única que aloje los asientos unificadamente.
a.2.2) Los asientos extremos traseros no podrán ser continuos, sino que serán asientos dobles o simples, del mismo tipo que el resto.
a.3) Espaciamientos:
En los asientos orientados en el mismo sentido, la distancia mínima entre la cara delantera del respaldo de un asiento y la cara trasera del respaldo del asiento que le precede, medida horizontalmente y a cualquier altura comprendida entre el nivel de la cara superior del sillín y 620 mm. por encima del piso deberá ser como mínimo 670 mm. (Figura 4).
Todas las dimensiones deben ser medidas con el sillín y el respaldo no comprimidos, en un plano vertical que pase por el eje longitudinal de cada plaza individual.
En el caso de asientos orientados frente a frente, la distancia mínima entre las caras delanteras de los respaldos de los asientos enfrentados, medida transversalmente a la altura del vértice de los sillines, no deberá ser inferior a 1.300 mm. (Figura 4).
Además, se exigirán los espaciamientos señalados en la Figura 5.


a.4) Ángulo:
El ángulo de los asientos con la horizontal debe estar comprendido entre 5° y 10° y el ángulo del respaldo con la horizontal debe estar comprendido entre 105° y 110°, de acuerdo a la figura siguiente:

a.5) Requisitos generales:
a.5.1) Material: Los asientos deberán tener un acolchado de alta durabilidad y de fácil limpieza y ser antideslizante, con características de rugosidad superficial que asegure una adherencia apropiada que dificulte el resbalamiento de sus ocupantes cuando el bus se encuentra en operación. En el caso de asientos de material acolchado, textil o similares, el cojín y el respaldo deberán formar piezas independientes con una separación entre sí que faciliten su limpieza. Todas las medidas deberán tomarse con el cojín y el respaldo sin comprimir.
El material de los asientos deberá tener propiedades que dificulten la propagación de la llama en caso de incendio y cumplir con alguna de las normas indicadas en el número 12 siguiente.
a.5.2) Anclaje: Los asientos deberán estar firmemente fijados a la estructura del vehículo.
a.5.3) Pasamanos en asientos: La parte superior del respaldo de los asientos deberá estar provista de un pasamano.
Todos los asientos que dan al pasillo deberán contar con asideros de sujeción vertical, en la parte superior del respaldo, formando parte de la estructura y sin modificar el ancho del pasillo, con el objetivo de permitir la sujeción de los pasajeros que viajan de pie.
a.5.4) Asientos preferentes: Los asientos reservados para el uso preferente por personas con discapacidad y movilidad reducida, exigidos por la normativa vigente, deberán ser de un color distinto y contrastante con el color de los demás asientos para pasajeros. Su ubicación deberá considerar su proximidad tanto a la puerta de acceso como a la de salida del vehículo. El piso de los asientos preferentes deberá estar al mismo nivel que el piso del pasillo de circulación, esto es, no deberán estar en las zonas de los cubre-ruedas o similares o en una ubicación tal que para acceder a ellos el pasajero deba utilizar peldaños.
La altura de los asientos preferentes descrita en el literal a.1) de este numeral, podrá ser reducida hasta un mínimo de 380 mm.
Los buses deberán disponer un asiento preferente por cada 10 asientos para los pasajeros.
Asimismo, la zona donde se instalen los asientos preferentes, deberá contar con un sistema de aviso de parada, cuya señal acústica permita diferenciarla de las señales del resto del vehículo.
a.5.5) Asiento doble: El bus deberá contar con al menos un asiento doble, que deberá estar dispuesto en la zona delantera del bus y ser del mismo color y material de los asientos preferentes. El acceso a éste deberá encontrarse libre de peldaños.
a.5.6) Asientos abatibles: Podrán instalarse asientos abatibles donde la carrocería lo permita, con excepción del pasillo.
Los buses deberán contar con asientos abatibles a lo largo de toda la zona reservada para silla de ruedas, de tal manera que en su posición de guardado respete el espacio definido para el posicionamiento y anclaje de una silla de ruedas.
Su estructura deberá permitir el abatimiento de manera autónoma y resistir el uso y las cargas propias de su función.
El ángulo del asiento abatible debe ser 5º por sobre la horizontal y cumplir con la altura señalada en el literal a.1) de este numeral.
a.5.7) Dispositivos de Apoyo: Deberá instalarse pasamanos, o asideros de sujeción, para el apoyo de pasajeros sentados, en todos los casos en que se verifique una distancia superior a 400 mm entre ese asiento y el asiento frontal o el panel divisorio.
Se deben incorporar apoyabrazos, preferentemente móvil o que faciliten el movimiento de los pasajeros entre el pasillo y los asientos, a todos los asientos que dan al pasillo y se encuentren ubicados a mayor altura, situación que se presenta frecuentemente en la zona donde se ubican los elementos del motor, transmisión y caja de ruedas del vehículo. Los asientos preferentes deberán contar con apoyabrazos móviles.
Dichos apoyabrazos deben estar al menos a una altura de 190 mm. desde la base del asiento, tener una longitud mínima del 80% de la profundidad del asiento y un ancho de soporte de al menos 30 mm.
Estará permitida la presencia de apoyapiés en el espacio debajo de los asientos orientados en el sentido de marcha del vehículo, a condición de que se deje un espacio adecuado para los pies del pasajero.
a.5.8) El diseño de los asientos debe facilitar la limpieza del piso del bus bajo éstos, debiendo disponer de un soporte, en lo posible diagonal, entre el asiento y un punto estructurante de la carrocería o piso del bus, evitando salientes y pequeñas brechas en donde se pueda acumular polvo y suciedad. Lo anterior no aplicará en las dos últimas corridas de asientos de los buses con motor trasero, si éstas se encuentran sobre el pasillo de circulación. Se deben evitar salientes y pequeñas brechas en donde se pueda acumular polvo y suciedad.
b) Asiento del conductor:
El ancho mínimo del asiento será de 450 mm. con una profundidad mínima de 450 mm.
El asiento deberá ser de diseño ergonómico, con sistema de amortiguación y regulable en posición longitudinal, vertical y de respaldo.
Los mecanismos de ajuste antes mencionados, deben permitir que el usuario, estando sentado, pueda efectuar las regulaciones sin complicaciones ni excesivo esfuerzo. Los mecanismos deberán mantener los ajustes sin que éstos puedan modificarse sin intervención voluntaria o en forma inadvertida.
El sistema de amortiguación deberá ser de tipo hidráulico o neumático.
El asiento y su interfaz de manipulación deben permitir un ajuste fácil, intuitivo y rápido, considerando un rango de ajustes amplio donde se asegure un alcance confortable al volante, los pedales y al panel de instrumentos y se favorezca la visibilidad despejada hacia la vía a través del parabrisas, los espejos del vehículo y el control de acceso y descenso de los pasajeros. Para ello, el asiento deberá tener la capacidad de regular:
- La inclinación del respaldo.
- La altura de su base.
- La distancia entre la base de asiento y el panel del conductor.
- La altura del apoyacabezas.
- La altura del apoyo lumbar.
- La altura e inclinación del apoyabrazos.
El asiento debe contar con un cinturón de seguridad para el conductor con 3 puntos de fijación y ajuste de altura. Deberá existir una señal sonora y visual en caso de no utilización del cinturón con el motor encendido.
8. VENTANAS, LUNETA TRASERA Y PARABRISAS.
a) Requisitos generales:
a.1) Todos los vidrios utilizados en las ventanas laterales, parabrisas y luneta trasera deberán ser de seguridad, cumpliendo con alguna de las siguientes normas: Norma Chilena NCh135.Of55; Directiva 92/22/CEE de la Comunidad Económica Europea; resolución 784/94 del CONTRAN Brasil; u otra equivalente.
a.2) En el caso que el vehículo cuente con una luneta trasera, esta deberá cumplir con los requisitos establecidos en el literal a.1) de este numeral.
a.3) Los vidrios que rodean la zona de la cabina del conductor deben contar con filtros que bloqueen el paso de las radiaciones infrarroja, UV A y UV B. Al costado izquierdo del conductor existirá una ventanilla que deberá poder abrirse.
b) Requisitos Ventanas laterales:
b.1) Las ventanas laterales (incluida la superficie vidriada de las puertas) deberán ser, como mínimo, de un 30% de la superficie lateral del bus. Dicho requisito no será exigible a buses de propulsión eléctrica, siempre y cuando el encapsulamiento del sistema de propulsión del vehículo no lo permita.
b.2) Los vidrios deberán ser tintados, con un índice de transparencia entre 50 y 70%.
b.3) Al menos, el 50% de las ventanas debe contar con secciones móviles que cuenten con mecanismos que permitan trabar o bloquear su apertura desde el interior cuando se encuentre en operación el sistema de aire acondicionado, para asegurar la eficiencia de su operación y permitir su apertura en caso de que el sistema de aire acondicionado no se encuentre en operación, para mayor comodidad de los usuarios. La activación de este mecanismo de bloqueo debe ser realizada con alguna herramienta ad-hoc operada por el conductor del vehículo, de tal manera que no pueda ser destrabado por cualquier pasajero.
b.4) Ser, en su mayoría, de dimensiones estandarizadas entre ellas.
b.5) Estar fijadas a la carrocería con mecanismos que aseguren su hermeticidad.
c) Requisitos parabrisas:
c.1) Estar construido de manera que permita reducir los reflejos causados por la iluminación interna.
c.2) Tener un índice de transparencia mínima del 75%.
c.3) Contar con un sistema antiempañamiento.
9. ASIDEROS Y PASAMANOS.
a) Requisitos generales:
a.1) Los pasamanos y asideros de sujeción deberán tener resistencia adecuada y estar concebidos e instalados de manera que no presenten ningún riesgo de lesión para los pasajeros.
a.2) Los pasamanos y asideros de sujeción deberán tener una sección que permita a los pasajeros agarrarse a ellos fácil y firmemente. Todo pasamano dispondrá al menos de 100 mm. de longitud para acomodar una mano. Ninguna dimensión de su sección deberá ser inferior a 20 mm. ni superior a 45 mm., excepto en el caso de pasamanos fijados en las puertas y en los asientos. En estos casos se autoriza una dimensión mínima de 15 mm., a condición de que otra dimensión sea al menos 25 mm. Los pasamanos no tendrán dobleces puntiagudos.
a.3) El espacio libre entre un pasamano o un asidero de sujeción y la parte adyacente de la carrocería o de las paredes del vehículo debe ser de al menos 40 mm. No obstante, en el caso de un pasamanos fijado sobre una puerta o un asiento, se autoriza un espacio libre mínimo de 35 mm.
a.4) La superficie de cada pasamanos y asidero o columna de sujeción deberán ser de acero inoxidable, aluminio o tubo de acero protegido con material plástico u otro recubrimiento adecuado.
Los materiales metálicos utilizados deberán mantenerse, a lo largo de su vida útil, libres de corrosión y hongos, ya sea utilizando materiales libres de corrosión o utilizando el adecuado tratamiento anticorrosivo y antimicótico, lo que deberá ser acreditado por el fabricante del vehículo.
a.5) Los pilares verticales y horizontales deberán estar alineados y distanciados de forma ordenada.
b) Pasamanos y asideros de sujeción para pasajeros de pie:
b.1) Para cada punto de la superficie del piso destinada a los pasajeros de pie deberá haber pasamanos y asideros de sujeción en número suficiente. A tal efecto, deberá disponerse, a lo menos, de una cantidad de asideros flexibles equivalente a la mitad del número de pasajeros de pie, distribuidos uniformemente a lo largo del vehículo y su empuñadura deberá encontrarse a 1.650 mm. de altura, medidos desde el piso del vehículo. Estas condiciones se considerarán cumplidas cuando, para cualquier localización posible del dispositivo de ensayo representado en la Figura 7, dos pasamanos o asideros de sujeción, como mínimo, estén al alcance del brazo móvil del dispositivo calibrador para pasamanos y asideros. El dispositivo antes mencionado podrá girarse libremente alrededor de su eje vertical. Los asideros flexibles deberán estar colgados de manera fija al pasamanos horizontal y permitir un movimiento pendular. En la zona de los cubre-ruedas o encapsulamientos correspondientes al sistema motor-transmisión, podrá exceptuarse el uso de pasamanos horizontales y asideros flexibles, siempre que se dé cumplimiento a los requisitos de este numeral. Además, en el pasillo de circulación deberán instalarse pilares cada 1,5 metros como máximo o mínimo cada dos asientos, distribuidos a lo largo del eje longitudinal del bus, sin que ellos entorpezcan la circulación desde y hacia el espacio especial destinado para usuarios en silla de ruedas.
Aquellos pilares que se encuentren adyacentes a los asientos preferentes deberán contar con elementos que al tacto indiquen a una persona con discapacidad visual que se encuentra frente a dichos asientos. Estos elementos podrán cubrir su superficie con una goma texturizada que deberá distribuirse uniformemente sobre el manto del tubo o, en caso de señales con pequeñas protuberancias, sus bordes deberán ser debidamente redondeados para no provocar daños.
b.2) Cuando se utilice el procedimiento indicado en el punto anterior, únicamente deberán tomarse en consideración los pasamanos y asideros de sujeción que se encuentran a 800 mm como mínimo y a 1.900 mm como máximo del nivel del piso.
b.3) Para cada posición que pueda ser ocupada por un pasajero de pie, al menos uno de los dos pasamanos o asideros de sujeción requeridos deberá encontrarse a no más de 1.500 mm por encima del nivel del piso en dicho lugar. Esta disposición no se aplicará al área adyacente a una puerta en la que ésta o su mecanismo en posición abierta impedirían la utilización de este asidero.
b.4) Los lugares que puedan ser ocupados por pasajeros de pie y que no estén separados por asientos de las paredes laterales o de la pared posterior del vehículo, deben estar provistos de pasamanos horizontales paralelos a las paredes e instalados entre 800 mm y 1.500 mm del nivel del piso, aun cuando existan asientos abatibles.
Deberá disponerse de pasamanos en toda zona de tránsito sin asientos, como es la puerta de cabina y cajas de motor. Éstos deben estar ubicados a una altura de agarre entre 700 mm. y 1.100 mm por encima del nivel de la base del pasillo de circulación.
Aquellos pasamanos ubicados sobre asientos abatibles deberán contar con revestimientos acolchados.
c) Pasamanos y asideros de sujeción para las puertas de servicio:
c.1) El espacio libre de cada puerta, destinado al acceso al bus, deberá estar provisto de pasamanos o asideros de sujeción a cada lado.
c.2) Los pasamanos o asideros de sujeción de las puertas de servicio deben ser tales que tengan un punto de agarre al alcance de una persona que se encuentre de pie en el piso junto a la puerta de servicio.
Las zonas de acceso del bus deberán contar con pasamanos dobles para facilitar el acceso a personas de diferentes estaturas a 900 mm. y 970 mm, respectivamente, medidos desde el piso del bus, y
c.3) Para la posición correspondiente a la de una persona que se encuentre de pie en el piso, deben estar a una distancia no superior a 400 mm hacia el interior con relación al borde externo del piso del bus.
10. PANELES DIVISORIOS.
Se instalarán paneles entre los asientos y en la zona donde pasajeros sentados o de pie se encuentren sobre el nivel del piso del pasillo de circulación o en las zonas donde estos requieran ser separados, con dimensiones de al menos a 900 mm. de altura y un espacio libre de 130 mm. en la parte inferior.
11. PISO DEL VEHÍCULO.
a) Los buses deberán tener plataforma plana, al nivel de la entrada baja del vehículo, en al menos un 45% de la superficie total disponible para pasajeros.
b) Deberá ser construido con materiales de adecuada resistencia estructural, herméticamente unidos, y deberá fijarse convenientemente a su base de modo de evitar vibraciones o juegos durante la operación del vehículo.
c) Deberá tener características antideslizantes.
d) La zona expuesta de la parte inferior del piso y su estructura soportante deberá protegerse adecuadamente contra la corrosión, tanto en los puntos de contacto de la estructura con sus apoyos como la superficie inferior, que deberá tratarse con compuestos sellantes apropiados, además del tratamiento anti-ruidos.
e) La inclinación del pasillo medida con el vehículo vacío y en superficie horizontal no deberá sobrepasar el 8%.
f) En el caso de que existan peldaños interiores, no se permitirán aplicaciones irregulares o asimétricas en su huella y contra huella, y su altura máxima no deberá ser superior a 400 mm.
g) El piso interior deberá ser lavable con recubrimiento de material polímero e incrustaciones de cuarzo o material antideslizante equivalente.
h) Elementos que se encuentren en el piso en la zona circulación, como anclaje de asideros, escotillas, bisagra de plataforma, y otros, no deberán sobresalir por sobre el nivel del piso.
12. COMPORTAMIENTO FRENTE AL FUEGO.
El comportamiento frente al fuego de los materiales utilizados en la fabricación del interior de la carrocería: Deberán ser tal que, respecto de su inflamabilidad, índice de combustión y comportamiento de fusión reduzcan el daño a los ocupantes del vehículo provocados por incendio.
Se entenderá que cumple con el requisito antes referido, si respecto de los materiales se acredite que han cumplido con alguna de las siguientes normas:
- Directiva Europea 95/28/CEE o Reglamento Nº 118, CEPE ONU.
- Code of Federal Regulation (CFR) 49 571 - 302 de Estados Unidos de Norteamérica.
- Resolución 498/2014 CONTRAN de Brasil.
13. SISTEMA DE AVISO DE PARADA.
El bus deberá contar con timbres eléctricos del tipo saliente, ubicados a una altura de 1.200 mm como máximo, los que deberán ser de un color contrastante al del resto de la carrocería. Tales timbres se distribuirán uniformemente en el vehículo, procurando además un acceso adecuado cada 1,5 m como máximo, o mínimo cada 2 asientos a lo largo del eje longitudinal del bus. Además, deberá encenderse una señal luminosa sobre las puertas de salida y en el puesto del conductor, que se activará con el toque de timbre y que impedirá que se repita la señal acústica si el conductor ya ha sido alertado de la parada.
14. ILUMINACIÓN INTERNA.
La iluminación interna deberá ser en base a lámparas de tecnología LED (diodo emisor de luz), instaladas de manera que eviten molestias al conductor. La luz que proyecten deberá ser blanca.
La potencia de la luz será lo más uniforme posible al interior del bus, siendo como mínimo 150 lux a una altura de 1 m sobre el piso del vehículo.
15. VENTILACIÓN INTERNA.
Los buses deberán estar dotados de un sistema de ventilación, formado por dispositivos de aire forzado y tomas de aire natural, diseñado y construido para asegurar una renovación de al menos 20 veces el volumen de aire contenido al interior del bus, por hora.
La cantidad mínima de dispositivos de aire forzado (QMD), para garantizar la tasa de renovación de aire anterior, será igual al mayor valor que resulte de comparar el resultado de la ecuación que a continuación se plantea, con el correspondiente valor de la tabla Nº 1 siguiente:
QMD = (VI x 20) /VV, donde VI es el volumen interno del bus expresado en m³ y VV es el caudal del ventilador expresado en m³/ hr.

La cantidad mínima de aire natural debe estar conforme a lo indicado en la Tabla Nº 2, siguiente:

En los vehículos que eventualmente presentaran una carrocería que, por condiciones técnicas o de operación, el espacio disponible no le permitiere cumplir con el número mínimo de ventiladores y/o tomas de aire natural, se admitirá un número menor de dichos elementos, siempre que se demuestre que los existentes mantienen la tasa de renovación de aire de al menos 20 veces el volumen de aire contenido al interior del bus, arriba dispuesta.
16. AIRE ACONDICIONADO.
Los buses deben contar con un sistema de aire acondicionado (A/C) apropiado para operaciones embarcadas o en movimiento considerando las características del chasis y la estructura de cada bus, asegurando una integración armónica entre estos elementos y sus capacidades energéticas, con el fin de asegurar que opere de forma óptima.
El sistema de aire acondicionado deberá activarse cuando la temperatura ambiente en el exterior del bus supere los 24ºC. Dicho sistema deberá tener la capacidad de mantener una temperatura de confort estable en el salón de pasajeros y en la cabina del conductor de entre 20ºC y 24ºC. Esta temperatura interior deberá ser lo más uniforme posible y será medida a 1 metro sobre el nivel del piso a lo largo del bus. En caso de que la temperatura ambiente en el exterior supere los 32ºC, se debe asegurar una temperatura interior al menos 8ºC inferior a la temperatura exterior.
El sistema de aire acondicionado debe ser dimensionado considerando la carga térmica con la ocupación máxima de los buses, el número y ubicación de las puertas y la frecuencia de apertura y cierre de las mismas.
Todo el aire que ingrese al bus con las puertas cerradas debe ser filtrado. Para esto, los filtros deben ser de fácil mantenimiento y/o reemplazo, y adecuados para un correcto desempeño en las condiciones ambientales de las zonas en que operarán, sin comprometer el rendimiento de la unidad de aire acondicionado o del sistema de ventilación.
El sistema de aire acondicionado deberá contar con un control de mando ubicado en la cabina del conductor, que permita a éste ajustar su intensidad. Se debe contar con la opción de bloquear su manipulación por parte de los conductores.
Se debe asegurar que los equipos y refrigerantes utilizados cumplan con lo establecido en la norma NCh3241:2017 del Instituto Nacional de Normalización respecto a sistemas de refrigeración y climatización y su manual buenas prácticas para el diseño, armado, instalación y mantención.
17. CABINA DE SEGREGACIÓN DEL CONDUCTOR.
El vehículo deberá contar con una cabina de segregación del conductor semiabierta, que garantice las siguientes condiciones de seguridad, funcionalidad y habitabilidad al interior de la misma:
a) El diseño de su estructura, paredes y soportes verticales, deberá estar construido de forma tal que no obstruya la visión del conductor hacia el exterior.
b) Deberá contar con un cierre transparente de cristal de seguridad, vidrio templado u otro material de características antiastillantes.
En caso de utilizar cristal se deberán usar vidrios de seguridad que permitan que este no se desintegre.
De igual forma, se considera importante minimizar el espacio que queda entre el cristal y el marco que lo sustenta, de tal forma que impida la inserción de objetos desde el espacio de los pasajeros hacia la cabina del conductor.
c) La cabina deberá otorgar continuidad visual, formal y armónica a los otros elementos propios del revestimiento interior del vehículo, y su estructura de segregación deberá cubrir desde el panel divisorio que se encuentra detrás del conductor hasta al menos el panel de instrumentos y desde el piso del pasillo del vehículo y al menos sobre 300 mm desde el apoyacabeza del asiento del conductor.
Su estructura deberá cumplir con los mismos estándares utilizados en el resto de la carrocería y estar anclada a ésta.
d) Dicho espacio deberá estar construido de forma tal que permita que el conductor pueda observar, comunicarse con los pasajeros que suban por la puerta delantera y escuchar lo que ocurre al interior del bus; por lo anterior, deberá disponer de áreas transparentes construidas de cristal de seguridad u otro material de características antiastillantes adosado a la estructura integrada sin elementos que obstaculicen la visual del conductor. No estará permitido el uso de material acrílico o policarbonato. Adicionalmente, se deben considerar características antirreflejos.
e) Deberá disponer de al menos una puerta de acceso, cuyas dimensiones y ubicación permitan su uso y cierre desde el exterior e interior de la cabina, en cuyo interior podrá disponer de un cerrojo de seguridad adicional.
f) El espacio al interior de la cabina, así como sus accesos, deben permitir al conductor moverse con libertad para desarrollar sus actividades de conducción sin restricciones físicas impuestas por la cabina.
El habitáculo deberá contar con un compartimento para documentos del conductor.
g) Disponer de ventilación mediante ventana y aire acondicionado que asegure un intervalo de temperaturas al interior de la cabina de entre un mínimo de 20°C y un máximo de 24°C.
h) Para el control de la luz solar, la cabina deberá contar con un mecanismo de acción regulable.
i) El nivel de ruido al interior de la cabina deberá cumplir con los niveles máximos establecidos en el decreto supremo Nº 129, de 2002, del Ministerio de Transportes y Telecomunicaciones, o el texto que lo sustituya o reemplace.
18. VISIBILIDAD DEL CONDUCTOR.
El conductor debe ser capaz de observar las condiciones de ruta durante todo su manejo. No deben existir elementos que interrumpan su visión. El diseño interior debe prestar especial atención a que no existan obstáculos visuales hacia el frente del bus y permitan una visión directa con los espejos retrovisores exteriores de ambos lados, como, por ejemplo, el cierre de la cabina segregada, el (los) validador(es), el letrero de cortesía o letrero electrónico de información de ruta, pilares, pasamanos y la consola del conductor.
19. ESPEJOS.
a) Espejos Convexos internos:
Debe ser instalado un espejo convexo junto a cada puerta de desembarque, que permita la visualización amplia de movimiento de los pasajeros a través de los espejos del asiento del conductor. Podrán exceptuarse de este requisito aquellos buses que cuenten con dispositivos ópticos que mediante cámara y un monitor de video, u otra modalidad de visualización, permitan al conductor del vehículo disponer de la misma funcionalidad requerida.
b) Espejos laterales exteriores:
Los espejos laterales exteriores deberán ser bipartidos, con un área plana y una convexa en el extremo inferior. El borde inferior de los espejos exteriores debe estar a una altura no menor a 1.900 mm, medidos desde el nivel del suelo, a fin de evitar incidentes con peatones.
20. CARGADORES USB.
Los buses deberán contar con un mínimo de puertos de carga USB tipo A para los pasajeros y el conductor, cada uno con una capacidad mínima de 1[A], de acuerdo a lo que se indica a continuación.
Se deberán instalar al menos, un puerto USB por cada dos asientos, los que deberán quedar instalados a media altura en los costados del bus al lado de los asientos; deberán cumplir con las características mecánicas necesarias para soportar un uso intensivo de los mismos, contar con protecciones para prevenir daños a dispositivos electrónicos.
Para este caso, el cálculo total de asientos debe considerar los asientos abatibles.
La fuente de alimentación del bus debe considerar el posible uso simultáneo de todos los cargadores USB.
21. LUCES EXTERIORES.
El sistema de luces exteriores deberá contar con las luces a que se refiere el decreto supremo Nº 22, de 2006, del Ministerio de Transportes y Telecomunicaciones, debiendo utilizar tecnología LED (diodo emisor de luz), respecto de las cuales deberán cumplirse los siguientes requisitos:
a) La luz alta deberá tener una intensidad que permita, de noche y con buen tiempo, discernir la existencia de obstáculos en el camino frente al vehículo, a una distancia de 100 m; la luz baja deberá tener una intensidad que permita en iguales condiciones, discernir obstáculos a una distancia de 40 m.
b) Las luces de frenos deberán tener una intensidad que permita su buena visibilidad durante el día a 100 m de distancia, sin que provoquen, durante la noche, molestia a los conductores que se encuentren detrás.
Las luces de frenos deberán ser activadas mediante la actuación de cualquiera de los sistemas de frenos de servicio del vehículo. Estas luces podrán ser combinadas con otra luz roja trasera, siempre que las luces de frenos sean de mayor intensidad y puedan ser claramente diferenciadas de otra luz.
c) Además de las luces destellantes de viraje delanteras y traseras, deberá ser visible una luz destellante de viraje en la parte delantera de los lados de la carrocería, a una distancia no superior a un cuarto del largo del vehículo o 2000 mm del frente de éste, el que sea más bajo. La función de la luz de viraje visible desde el costado del vehículo podrá ser cumplida por la luz delantera si cumple con la condición de visibilidad desde el costado.
e) Además, el vehículo deberá contar con un sistema de señalización de retroceso del tipo alarma sonora.
22. PARACHOQUES.
a) Los parachoques deberán ser resistentes contra la corrosión, es a los impactos. Además de dimensionados e instalados de tal modo que pequeños choques con obstáculos u otros vehículos producidos en maniobras a baja velocidad no signifiquen daños a la carrocería.
b) Los parachoques deberán extenderse hasta los laterales de la carrocería, formando en sus extremos una curvatura suave, pero sin exceder el ancho máximo permitido.
c) El ancho del parachoques medido en la vertical deberá ser como mínimo 200 mm.
d) Se deberá considerar que las carcasas de los parachoques deben tener características desmontables a fin de facilitar labores de mantenimiento y estar construidos en base a materiales livianos y resistentes.
23. SISTEMAS DEL VEHÍCULO.
a) Sistema de dirección:
a.1) Generalidades:
La dirección deberá ser asistida, ya sea eléctrica, hidráulica, o servo-asistida.
Las características mecánicas y geométricas del sistema de dirección deberán optimizarse de modo de permitir una adecuada precisión de mando y respuesta, una alta estabilidad direccional y un adecuado retorno a la posición correspondiente a la trayectoria rectilínea, una vez que ha cesado el esfuerzo ejercido sobre el volante por el conductor.
Las características cinemáticas de los mecanismos articulados deberán ser tales que minimicen los efectos debidos a las oscilaciones de la suspensión sobre la trayectoria del vehículo.
El sistema deberá atenuar la transmisión al volante de vibraciones o golpes provocados por irregularidades del pavimento.
El volante de dirección deberá ser ajustable, tanto en su altura como en su ángulo.
a.2) Maniobrabilidad:
Los vehículos deberán cumplir con los requisitos establecidos en el numeral 3.4 del Anexo 11 "Masas y Dimensiones" del Reglamento Nº107 de la Comisión Económica para Europa de las Naciones Unidas (CEPE), sobre disposiciones uniformes relativas a la homologación de vehículos de la categoría M2 o M3 en lo que respecta a sus características generales de construcción o con los valores indicados en la columna titulada "Básico, Padrón, de la tabla 4 del número 21 de la Norma Brasilera ABNT NBR 15570.
b) Sistema de suspensión:
La suspensión deberá ser tipo neumático integral con inclinación lateral, y con regulación automática de la altura del piso del vehículo respecto a los ejes de este, debiendo:
b.1) Controlar las oscilaciones verticales, longitudinales y transversales, garantizando las condiciones de confort de los pasajeros y protegiendo los componentes del vehículo.
b.2) Asegurar la estabilidad del vehículo, manteniendo la carrocería permanentemente nivelada.
b.3) Mantener la altura del piso constante en relación con los ejes, con un margen de 20 mm respecto al nivel nominal, independientemente de las cargas transportadas y condiciones de operación.
b.4) Soportar los esfuerzos verticales, longitudinales, transversales y torsionales, transfiriéndolos del vehículo al suelo y viceversa.
b.5) La suspensión deberá contar con un sistema de arrodillamiento que permita facilitar la subida de pasajeros por el lado derecho del bus, debiendo cumplir con lo siguiente:
El sistema de inclinación deberá reducir la(s) entrada(s) del autobús en un mínimo de 60 mm durante la carga o descarga, independientemente de la carga que llevase el bus.
El control que permite el movimiento hacia abajo debe mantenerse oprimido por el conductor.
La liberación del control durante el movimiento hacia abajo debe detener por completo el movimiento de bajada y mantener la altura del autobús en dicha posición.
El accionamiento de control hacia arriba deberá permitir que el autobús regrese a la altura normal del piso, sin que el conductor tenga que mantener oprimido dicho control.
Un indicador visible para el conductor deberá estar iluminado hasta que el autobús se eleva a una altura adecuada para un viaje seguro en la calle.
Una alarma de aviso audible sonará simultáneamente con la operación de inclinación para alertar a los pasajeros y los transeúntes. Además, deberá estar equipado con una luz de advertencia montada cerca de la acera del lado de la puerta delantera, con un diámetro mínimo de 50 mm, de color ámbar que deberá parpadear cuando se active la función de arrodillarse.
Un dispositivo de bloqueo deberá prevenir que el autobús se arrodille si una rampa se ha desplegado.
Un sistema de bloqueo deberá evitar el movimiento cuando se arrodilla el autobús.
Después de arrodillarse, el autobús se levantará dentro de 3 segundos a una altura que permita reanudar el servicio y deberá elevarse a la altura de funcionamiento correcto.
Deberá tener un sistema automático que active el modo normal de suspensión en condición de operación del vehículo cuando éste alcance los 10 km/h, de manera de evitar que el vehículo transite con su sistema de suspensión en posición alta, baja o inclinada, de manera que garantice el confort a los pasajeros y un correcto desempeño en materia de amortiguación y sensación de los pasajeros a bordo.
c) Sistema de frenos:
El sistema de frenos deberá estar compuesto de los siguientes sub-sistemas, independientes entre sí:
c.1) Freno de servicio,
c.2) Freno de estacionamiento, y
c.3) El freno de servicio deberá ser de actuación totalmente neumática y con dos circuitos independientes, uno para el eje delantero y el otro para el eje trasero.
c.4) Los buses con motor de combustión interna y largo mayor o igual a 11 m, deberán contar con sistema retardador integrado o sistema retardador convertidor integrado, de lo contario podrán equipar freno de motor de accionamiento automático.
El freno de estacionamiento deberá ser capaz de mantener el vehículo, con su carga máxima, detenido en una pendiente de 22%. El freno de estacionamiento será del tipo de actuación por resortes por liberación de presión de aire y su mecanismo de aplicación deberá permitir que se mantenga accionado el sistema en ausencia del conductor. Deberá contar con su propio estanque de aire a presión, con capacidad suficiente para 8 operaciones completas de activación y desactivación, con el compresor desconectado.
En caso de emergencia, el freno de estacionamiento deberá ser capaz de desacelerar el vehículo, con su carga máxima y circulando sobre pavimento horizontal y seco, desde una velocidad inicial de 50 KPH con la caja de velocidades en neutro, con una desaceleración de 2 m/seg2.
El sistema de freno deberá estar diseñado para maximizar su vida útil, suavidad de operación y el confort de los pasajeros. Debe contar con un sistema electrónico de frenado (EBS) y sistema de antibloqueo (ABS), los cuales pueden ser integrados. El sistema de frenos debe inhibir el movimiento del vehículo totalmente en caso de que éste se encuentre inclinado lateralmente realizando maniobras de ascenso/descenso de pasajeros con movilidad reducida.
Los sistemas de ABS y EBS deberán tener características de inspección y diagnóstico electrónica y remota.
Se deben proveer mecanismos que permitan la inspección visual, electrónica y remota del deterioro de las pastillas de freno sin la necesidad de remover componentes mayores.
Bajo condiciones de operación normal no debe existir ruido desde las pastillas o disco de freno durante una frenada normal o de emergencia.
d) Sistema de transmisión:
d.1) El Resolución 4582 EXENTA,
TRANSPORTES
D.O. 28.12.2021sistema de transmisión de los buses deberá ser de tipo automática.
TRANSPORTES
D.O. 28.12.2021sistema de transmisión de los buses deberá ser de tipo automática.
d.2) El conjunto transmisión - diferencial deberá garantizar un arranque en pendiente de, al menos, 20% y una velocidad de 0 a 20 km/h en un tiempo inferior a 10 segundos, bajo una condición de máxima carga posible del vehículo (Gross Vehicle Weight - GVW).
d.3) La transmisión de los buses deberá cumplir con las siguientes especificaciones mínimas:
- La transmisión debe tener control electrónico.
- Los vehículos dotados de motor de combustión interna deberán estar equipados con un retardador, pudiendo ser mecánico o hidráulico, con comando de activación electrónico.
- Sistema de neutro en las paradas.
- El mando debe estar en el puesto del conductor.
e) Posición del motor:
El motor deberá estar situado en la parte trasera o entre ejes del vehículo.
24. INDICADORES EXTERIORES DE RECORRIDO.
El vehículo deberá contar con sistemas electrónicos de identificación de recorrido, ubicados en el exterior del bus, los cuales deberán ser construidos de manera que puedan ser leídos tanto de día como de noche. Estos sistemas deberán ser capaces de incluir identificación del número del servicio y destino en la parte frontal superior del bus. En el lateral derecho y en la parte trasera deberá indicarse, con el mismo sistema, al menos el número del servicio.
Los indicadores exteriores deberán ser considerados como parte del diseño y construcción de la carrocería del bus y reunir las especificaciones establecidas en el Anexo II, punto Nº1, Portaria BHTRANS DPR Nº092/2012 de 6 de Novembro de 2012 - Revoga a Portaria DPR Nº102/2011, estabelecendo novos criterios para admissao de veículos no Servico Público de Transporte Suplementar de Passageiros do Município de Belo Horizonte, de Brasil.
Artículo 2º: Establécese que, para la certificación de las características señaladas en el artículo anterior, los fabricantes, armadores, importadores o sus representantes deberán entregar al Centro de Control y Certificación Vehicular (3CV) los antecedentes técnicos descriptivos del modelo de bus respecto del cual se solicita la certificación, considerando para ello las características técnicas definidas en la presente resolución. Posteriormente, las mismas personas deberán poner a disposición del 3CV un prototipo o vehículo de producción representativo del modelo de bus que se trate, para efectos de establecer su concordancia con los antecedentes y las especificaciones del artículo 1º precedente.
Por cada modelo aprobado mediante este procedimiento, el 3CV emitirá un Certificado de Estándar Red Regional, que señale que el modelo del vehículo cumple con las características señaladas en el artículo 1º de esta resolución. Dicho certificado tiene validez mientras el modelo de vehículo no cambie respecto del prototipo que fue objeto de la certificación.
A su vez, los fabricantes, armadores, importadores o sus representantes deben emitir certificados individuales para cada vehículo que comercializan de los que conforman la o las partidas de los modelos aprobados.
Artículo 3º: Establécese las siguientes características tecnológicas y requerimientos asociados a los componentes tecnológicos del bus:
1. ESPECIFICACIONES GENERALES DEL EQUIPAMIENTO INCORPORADO AL BUS.
i. Todo el equipamiento embarcado y las condiciones de instalación provistas por el Fabricante deberá estar integrado armónicamente con el diseño del vehículo.
ii. No se permitirán elementos superpuestos o expuestos a los pasajeros que evidencien riesgos vandálicos, de accidentes y/o afecten el diseño interior del vehículo.
iii. Elementos como tornillos, pernos o cualquier otro tipo de fijación, no deben quedar expuestos a los pasajeros y tampoco presentar aristas cortantes. El Fabricante no deberá usar cabezas del tipo paleta o cruz, privilegiando sistemas menos convencionales o inviolables, como por ejemplo Pin Parker, Pin Torx, u otros para lo cual debe suministrar la herramienta especial.
iv. Los soportes y elementos de sujeción deben soportar el peso del equipamiento embarcado.
v. Los tubos, pilares o pasamanos donde se canalice el cableado y/o se instalen dispositivos deben ser desmontables. Adicionalmente, se debe asegurar que dichos tubos tengan perforaciones adecuadas en su parte superior. Para la especificación de dichas perforaciones de los soportes de montaje de validadores se entregarán plantillas de los orificios del soporte.
vi. Las entradas o salidas de los ductos que queden expuestas deberán estar cubiertas con tapas integradas armónicamente a la carrocería.
vii. Cualquier instalación de dispositivos, equipamiento embarcado u otro elemento que lo acompañe deberá considerar espacio suficiente a fin de no impedir la normal operación y mantenimiento, tanto de los componentes tecnológicos como de otros componentes del vehículo.
viii. No se permitirán condiciones de instalación que evidencien perturbaciones, pérdidas e interferencias producto de la proximidad entre cables de alimentación eléctrica y cables que transporten señales.
ix. Todo el equipamiento embarcado provisto por el Fabricante del vehículo deberá incluir las condiciones de mantenimiento y garantías de los componentes que se instalen en el vehículo, mediante los correspondientes manuales de usuario y/o mantenimiento. Así también, deberá incluirse la disponibilidad de repuestos necesarios para los distintos componentes.
x. Se requiere que el equipamiento embarcado opere correctamente en un ambiente hostil, típico de una operación de transporte público en una ciudad como Santiago. Para esto, se deben considerar las condiciones de temperatura, humedad, vibraciones, presencia de polvo, petróleo, grasa, aceite, entre otras condiciones a las cuales se someterá el equipamiento, cableado, etc. Toda instalación a bordo debe considerar a lo menos grado de protección IP54 o equivalente y cumplir con un estándar del tipo SAE J1455 o similar.
xi. El equipamiento embarcado debe estar diseñado para operar en el transporte público por lo que se deberá entregar a la autoridad antecedentes que prueben:
1. Compatibilidad electromagnética.
2. Resistencia al impacto y vibraciones.
3. Tolerancia a temperatura y humedad.
4. Resistencia al agua.
2. SOPORTES Y ESPACIOS PARA DISPOSITIVOS DE LOS SERVICIOS COMPLEMENTARIOS.
Para el caso de los sistemas de validación:
i. El bus deberá disponer -en cada uno de los sectores de acceso al vehículo- un par de tubos de las mismas características que los pasamanos para soportar la instalación de validadores y semáforos. Lo anterior, tanto para las puertas del costado derecho como del lado izquierdo de la carrocería.
ii. Los pasamanos o pilares donde se instale el equipamiento deberán soportar un peso mínimo de 2 kg para alojar los dispositivos mencionados. Se debe asegurar que dichos tubos tengan perforaciones adecuadas en su parte superior.
iii. La disposición del pilar debe ser tal que, al instalar el validador, no interfiera la visibilidad del conductor hacia la ruta y espejos.
iv. Los mencionados tubos deben traer los ductos ya preparados llegando al gabinete de acuerdo con lo descrito en el siguiente punto 1.1.3. Las sujeciones de dichos tubos deben poder desmontarse y volver a montar para realizar el trabajo de cableado que permita la instalación de validadores y semáforos de validación. También deben contar con el cable guía en toda la extensión del tubo (hasta el piso del bus).
Para el caso de la consola del conductor y parlante de comunicación con el conductor:
. Se debe considerar un espacio para la instalación de una consola perteneciente al sistema de gestión de flota, de un tamaño de 253x211x38 mm al interior de la cabina de segregación del conductor.
. Dicho espacio deberá tener un plano en declive dentro del tablero del conductor que permita la correcta visualización de la consola por parte de éste y que el mencionado espacio permita deslizar la consola hacia arriba de la base de sujeción de la consola con el fin de proceder a su mantenimiento cuando fuera requerido.
. La consola debe ser parte del tablero del conductor, para lo cual se debe considerar un soporte de montaje plano que debe cumplir con la norma VESA.
. Se debe considerar que dicha consola será empotrada en este espacio.
. Para la ubicación del espacio solicitado se debe considerar que la consola deberá estar instalada al lado derecho del conductor, dentro de su zona de alcance definida por una esfera de un radio máximo de 677 mm medido desde el respaldo del asiento en un plano horizontal en postura estática y un radio máximo de 851 mm medido desde el respaldo del asiento en un plano horizontal en postura dinámica (considerando un ángulo máximo de 70 grados de flexión de tronco).
. El mencionado espacio deberá tener un orificio por el cual acceder a un ducto de mínimo 1,5" de sección que llegue al gabinete especificado en el punto 1.1.4 del presente apartado.
. Se debe considerar la instalación de un parlante adicional a la consola para permitir la comunicación de los centros de control con el conductor de acuerdo con la siguiente ilustración 1:

. En el caso de los contadores de pasajeros, se deberá habilitar un espacio sobre las puertas para la instalación de dichos dispositivos, que serán ejecutados, por un proveedor de servicios complementarios. El tamaño máximo a considerar para estos dispositivos es de 300 mm x 100 mm x 100 mm.
3. CANALIZACIÓN AL INTERIOR DEL BUS PARA LOS DISPOSITIVOS DE SERVICIOS COMPLEMENTARIOS TECNOLÓGICOS.
Desde el gabinete que se describe en el punto 1.1.4, se deben disponer de canalizaciones o ductos independientes para los cables de energía y señal que permitan la conexión de los dispositivos con los diversos sensores y elementos distribuidos en el bus y fuera del gabinete, tales como:
. Dispositivos de validación del medio de acceso.
. Consola del conductor.
. Paneles de información.
. Sensores de apertura y cierre de puertas.
. DVR, cámaras y monitor.
. Contadores de pasajeros.
. Interfaz CANBUS.
. Cualquier otro elemento que habitualmente pueda requerir integración con sistemas de gestión de flota o validación.
A modo de referencia, se debe considerar la instalación de ductos y cables guía desde el gabinete hacia:
. Cada uno de los pilares que contendrán validadores del medio de acceso.
. La zona superior de cada una de las puertas del bus (para dispositivos de conteo de pasajeros).
. Los paneles interiores de información variable.
. Los paneles exteriores de información.
. La consola del conductor.
. Los contadores de pasajeros.
. Las antenas de comunicación y de GPS en el techo del bus (o según lo indicado por el proveedor de servicios complementarios tecnológicos).
. El habitáculo del conductor, para elementos tales como consola, botón o pedal de emergencia y megafonía.
. En caso de que el DVR sea instalado fuera del gabinete se deberán consideran las señales provenientes de éste.
. Así como todo otro elemento o dispositivo tecnológico que venga con el bus.
Características y requerimientos de las canalizaciones o ductos:
i. Las canalizaciones deberán estar fabricadas con materiales aptos para instalaciones automotrices, auto-extinguibles, retardantes al fuego y que no emitan humos o gases tóxicos.
ii. Su diámetro debe ser adecuado para contener el cableado correspondiente, para evitar aplastamiento y respetando la tensión máxima de halado del cable.
iii. Los ductos deberán estar sujetos a la estructura del bus, a intervalos regulares de al menos 0,30 m a lo largo de toda su extensión.
iv. Los ductos deberán contener cables guía que en cada extremo sobresalgan al menos 5 cm para el cableado de los diferentes dispositivos y en el interior del gabinete estar codificados y etiquetados en cada extremo, de forma de poder identificar claramente el ducto y la función que le pertenece.
v. Los cables guías deberán tener al menos alma de metal.
vi. Las salidas de los ductos deberán encontrarse cubiertas, de manera tal que no representen peligro de daños a los pasajeros y no interfieran con la estética interior del bus, y permitan la manipulación y acceso por parte del personal técnico.
vii. Los ductos deberán tener un ancho mínimo de 1,5" salvo que se especifique lo contrario. Para el caso de los ductos que conectan el gabinete con los domos, estos deberán ser de al menos 2".
viii. Los ductos podrán ser corrugados y, en caso de combustión, deberán arder sin llama, no emitir gases tóxicos, estar libres de materiales halógenos y emitir humos de muy baja opacidad.
ix. Los ductos deben tener un radio de curvatura ajustado de acuerdo con la tabla siguiente; en ausencia de un valor que no se pueda extrapolar, se deberá considerar radios de curvatura de 10 veces el diámetro del ducto.

Sin perjuicio de lo anterior, en caso que un cable o cordón requiera por especificación del Fabricante un radio de curvatura superior al especificado en la tabla y párrafo precedente, se deberá considerar lo especificado por el Fabricante del cable o cordón, el cual debe ser de uso automotriz.
En ningún caso se permitirá utilizar codos de 90º ni otras condiciones que dificulten el futuro cableado.
Para el caso de los dispositivos ya solicitados en el bus, éstos deberán venir debidamente cableados por las canalizaciones solicitadas.
4. GABINETE PARA LA INSTALACIÓN DE EQUIPAMIENTO DE SERVICIOS COMPLEMENTARIOS TECNOLÓGICOS.
Se deberá disponer de un gabinete o caja cerrada con espacio suficiente para albergar en su interior al menos cuatro (4) subsistemas distintos, cada cual con su respectivo acceso individual. Este gabinete debe:
i. Tener un volumen interno de al menos 240 dm3 disponibles según las siguientes dimensiones: 80 cm x 100 cm x 30 cm.
ii. Incorporar elementos de sujeción para los dispositivos, que permitan soportar un peso total máximo de 35 kg.
iii. Estar integrado armónicamente con la carrocería y el diseño interior del bus.
iv. Debe permitir el fácil acceso a los técnicos autorizados a ingresar a dicha área, pero no así a los pasajeros.
v. Contar con ventilaciones que permitan que el rango de temperatura al interior de éste permanezca en el rango (-10ºC; +50ºC).
vi. No permitir el ingreso de agua por los cierres y rejillas de ventilación. Cumplir con IP55.
vii. Se deben contemplar ductos independientes para la acometida del cableado (energía y señal) de los distintos dispositivos distribuidos en el bus para cada uno de los subsistemas. Los ductos deben ser de al menos 1,5" diámetro.
viii. Se debe considerar distancia máxima para el recorrido de los cables entre los domos y el gabinete de 6 metros.
ix. Debe contar con iluminación interior.
x. Debe incluir a lo menos 3 bandejas soportantes para dispositivos interiores.
Dentro del gabinete se deberá disponer de 4 fusibleras o cajas eléctricas para que cada subsistema se conecte independientemente con conectores de 4 vías de uso automotriz (Tyco Ref: 880110-0). Las 4 fusibleras deben conectarse desde una toma protegida eléctrica y físicamente independiente desde la batería del vehículo, alimentada desde antes del dispositivo corta corriente disponible para el conductor del bus, procurando aislamiento de corrientes eléctricas residuales (interferencia). Para cada fusiblera o caja eléctrica, se deben incluir 4 bornes independientes para:
i. Alimentación eléctrica general (+B).
ii. Señal de Ignición.
iii. Ground (GND).
iv. Señal de Odómetro.
Las cajas eléctricas o fusiblera del gabinete se deberán alimentar con 4 cables eléctricos de uso automotriz de las siguientes secciones y convenciones de colores:
a. Alimentador +B: Cable color Rojo 12 AWG
b. Ground (GND): Cable color Negro (o café) 12 AWG
c. Señal de Ignición: Cable color Amarillo 16 AWG
d. Señal de Odómetro: Cable color celeste 16 AWG.
Adicionalmente, en el interior del gabinete se deberán considerar regletas de conexión con sus respectivos fusibles para las siguientes señales:
i. CANBUS (CANBUS J1939, CAN High y CAN Low).
ii. Comunicación y transmisión de información a los paneles exteriores de información.
iii. Apertura y cierre de puertas, por separado por cada una de las puertas del bus.
iv. Señales de solicitud de parada (accionamiento de los timbres en las puertas).
v. Una señal de "Batería Baja", para adecuar la gestión de energía de los dispositivos tecnológicos.
vi. Señales provenientes de los paneles de información interior.
vii. Señales provenientes del DVR, en caso de que este se encuentre instalado fuera del gabinete.
viii. En general, para todos los dispositivos existentes.
5. SEGURIDAD ELÉCTRICA DE LOS CIRCUITOS.
En función de la integridad y seguridad eléctrica, se deben incluir los siguientes requerimientos mínimos:
. Identificar cada cable físico por cada circuito eléctrico en sus respectivos planos.
. Implementar fusibles independientes para cada uno de los circuitos.
. Utilizar cableado de alta calidad resistente a la temperatura y humedad, libre de halógenos.
. Instalaciones eléctricas completamente selladas sin pasar por dentro del compartimiento de los pasajeros.
6. DOMOS PARA ANTENAS DE COMUNICACIONES.
El Fabricante deberá disponer, de preferencia en el costado izquierdo del techo del vehículo, de, al menos, 2 domos que permitan alojar en su interior antenas de comunicaciones y que cumplan con las siguientes condiciones:
. Construido de materiales que integren armónicamente con la carrocería.
. Incorporar un botagua que proteja el ingreso de agua hacia el interior y cumplir con la norma de protección IP65.
. Ser de un diámetro mínimo de 300 mm y una altura mínima de 140 mm. Dentro del domo se deberá disponer de un ducto de 2" para los cables de las antenas para conectar al gabinete especificado en el punto 1.1.4. Adicionalmente a lo descrito en el punto 1.1.3, dicho ducto y su respectivo cable guía deberán sobresalir al menos 5 cm medidos desde el techo del bus.
La distancia horizontal máxima entre el gabinete descrito en el punto 1.1.4 y los domos deberá ser de 2,3 metros. Además, los domos deben estar separados apropiadamente uno de otro, de manera de evitar interferencias en las señales.
El domo deberá permitir el fácil acceso, solo a personal autorizado, para ingresar a dicha área y su cúpula deberá ser removible para estos efectos, usando soportes de sujeción estancos y evitando materiales de fijación permanente como silicona u otros.
Los domos deberán ser construidos con un material resistente a los rayos UV y permeable a RF (Radio frecuencia) del rango de las frecuencias licenciadas en la regulación de Chile. Esto deberá permitir absoluta compatibilidad con las compañías móviles operativas en Chile durante la vida útil del bus y la recepción de señales provenientes de sistemas de navegación satelital.
7. LETREROS DE INFORMACIÓN VARIABLE EXTERIOR.
Los letreros electrónicos exteriores del vehículo conforme se establecen en el Anexo II, punto Nº1, Portarla BHTRANS DPR Nº092/2012 de 06 de Novembro de 2012 - Revoga a Portaria DPR Nº102/2011, estabelecendo novos criterios para admissao de veículos no Servico Público de Transporte Suplementar de Passageiros do Municipio de Belo Horizonte, de Brasil.
Asimismo, los letreros deben poseer un fondo en el color negro mate entre las líneas horizontales de Leds.
Los Leds deben estar en color ámbar; con al menos 800 milicandelas por Led.
La luminosidad mínima de los letreros debe ser de 810 Lux. Los paneles deben tener un sensor de luminosidad que permita la regulación automática de niveles diferentes de intensidad de la luminosidad.
Los paneles de Leds deben presentar protección contra inversión de polaridad, atender un rango de voltaje entre 10 y 32 voltios CC y tener protección contra picos de tensión de 80 Voltios CC.
La visualización del mensaje debe estar exenta de parpadeo para evitar molestias visuales a los usuarios.
Los mensajes expuestos deben ser preprogramados, transmitidos a la memoria del equipo por medio de conexión con una unidad de transferencia móvil o remota, el diseño debe ser presentado para el análisis y aprobación de División de Transporte Público Regional de la Subsecretaría de Transportes.
El software y la aplicación utilizados para la administración y configuración de los equipos y mensajes deben estar incluidos en el suministro.
El sistema debe permitir la comunicación con el panel frontal y con los paneles laterales y traseros, además de posibilitar la interfaz con otros paneles externos al vehículo y con la futura instalación de sistema de audio, comandado por el conductor (manos libres) o de forma sintetizada (electrónica), para proporcionar información a personas con algún grado de analfabetismo, adultos mayores, niños y personas con discapacidad visual, presentes en el punto de parada.
Los letreros deben tener una única central de mando que reproduzca internamente el mensaje expuesto. La unidad de control debe mostrar la iluminación de la pantalla, debe tener teclado propio y controlar todos los paneles.
La alimentación de los letreros debe ser compatible con la capacidad de las baterías del vehículo, considerando el consumo de los demás equipos electrónicos de éste y los dispositivos adicionales que se instalen para el sistema de gestión de flota y validación según lo especificado en el punto 1.1.18. El letrero debe cumplir con las especificaciones técnicas de protección automotriz para electrónica embarcada, no teniendo placas, componentes electrónicos o hilos expuestos, o con la posibilidad de contacto manual con los mismos.
Adicionalmente, las placas electrónicas de los letreros deben estar muy bien protegidas contra la humedad, mediante un baño de barniz protector.
Referente al cableado del sistema de letreros, idealmente estos deben comunicarse a través de un único cable que incluya señal y alimentación, el cual debe ser instalado en la carrocería, en ningún caso puede pasar por el chasís.
8. LETRERO FRONTAL SUPERIOR VARIABLE.
Todos los vehículos deberán estar equipados con el letrero frontal superior variable para indicar el número de línea y el destino de la línea operada, situado en la parte superior central del panel frontal del bus.
Se deberá adoptar el color amarillo ámbar para la visualización de los caracteres alfanuméricos, facilitando la visibilidad y la legibilidad por las personas con baja visión. La información deberá ser legible por personas colocadas dentro del campo de visión del área de mensajes, siendo legibles a, al menos, 50 m de distancia del punto de parada. Los dos segmentos de recta, proyectados en plano horizontal en el suelo a 65° para cada lado a partir del centro geométrico del plano del área de mensajes, limitan ese campo de visión.
La longitud mínima del área visible del panel electrónico debe ser de 1.350 mm. La altura de los caracteres alfanuméricos, que es la altura visible del panel, deberá ser proporcional a la altura del habitáculo que lo contiene, y nunca inferior a 150 mm. Los casos excepcionales deben analizarse previamente para la aprobación de División de Transporte Público Regional de la Subsecretaría de Transportes.
Si se utiliza el diseño constructivo utilizando Leds, el panel debe poseer un número mínimo de 13 líneas y 128 columnas, garantizando la resolución de los caracteres y ofreciendo eficiencia de legibilidad y entendimiento por los usuarios.
9. LETRERO TRASERO VARIABLE.
El vehículo deberá estar equipado con un letrero trasero para indicar sólo el número de línea operada, situado en la esquina superior derecha del panel trasero. El letrero debe estar conjugado con el letrero superior frontal. El letrero deberá atender a todas las características constructivas, técnicas y funcionales descritas para el letrero descrito en el punto 1.1.7. La longitud mínima del área visible del letrero debe ser de 410 mm, y la altura mínima del área visible del panel electrónico deberá ser de 150 mm.
Si se utiliza el diseño constructivo utilizando Leds, el letrero deberá tener un número mínimo de 13 líneas y 32 columnas, con una línea de al menos cinco caracteres, para garantizar la resolución de los caracteres y ofrecer eficiencia de legibilidad y entendimiento por los usuarios. El letrero debe contener al menos cinco caracteres.
10. LETRERO DE RECORRIDO LATERAL Y FRONTAL.
El vehículo deberá estar equipado con un letrero de recorrido lateral y un letrero de recorrido frontal, para informar el número de línea operada y un listado de hitos o calles por donde circula el recorrido. Dichos letreros deben mostrar información de recorrido consistente con el letrero superior frontal y el letrero trasero.
El diseño del letrero debe cumplir con el detalle de las dimensiones, especificaciones y ubicación determinadas por el Manual de Normas Gráficas vigente.
11. PROTOCOLO DE COMUNICACIÓN.
El equipamiento del bus deberá permitir el correcto funcionamiento de todos los componentes instalados sobre el mismo, para lo cual deberá ajustarse a los requerimientos del protocolo de integración, que se describen a continuación, para la comunicación entre el controlador de los letreros LED del bus y el computador a bordo del sistema de gestión de flota.
El protocolo deberá permitir que se envíen desde el computador a bordo al controlador de los letreros, instrucciones como el código de recorrido y sentido, de manera que el dispositivo de los letreros seleccione los textos a desplegar en los mismos.
El computador que controlará los letreros del bus deberá ser capaz de contener o programar un protocolo de comunicaciones que permita el intercambio de datos con el computador a bordo de los servicios complementarios tecnológicos a instalar en los buses, según lo especificado en el siguiente numeral.
11.1 Esquema de funcionamiento:
Cuando un servicio/sentido sea cambiado en el computador a bordo, este informará al controlador de los letreros el nuevo recorrido. Este dato que envíe el computador a bordo primará sobre cualquier modificación directa en la programación del letrero. Esto último se implementará repitiendo cada 60 segundos el envío de la información del servicio/sentido contenida en el computador a bordo.

11.2 Direcciones:
Se deberá considerar una red de comunicaciones sobre EIA-485, entre ambas unidades de control, donde las direcciones a utilizar son las siguientes:

11.3 Estructura de los paquetes de comunicación:
Los paquetes de comunicación deberán presentar la siguiente estructura:

Checksum = Es la suma de todos los Bytes (exceptuando la marca de inicio y de término 0xFF) mod 0x100.
Si el checksum es 0xFE: el primer checksum byte es 0xFE y el segundo es 0x00. Si el checksum es 0xFF: el primer checksum byte es 0xFE y el segundo es 0x01.
Ejemplo 1: El computador a bordo de los buses informa que el servicio/sentido es el 68 (0x44) sin texto adicional, la variable Extra number deberá estar en cero:

Ejemplo 2: El controlador de letreros del bus informa que tiene seleccionado el servicio/sentido 267 y el extra mark 6:

De preferencia, y para la comodidad del conductor, deberá permitirse la integración con los equipos de audio del bus y recepción automática del servicio/sentido sin obligar al conductor a realizar acciones replicadas en cada elemento o sistema del bus.
11.4 Cableados especiales solicitados:
Se deben dejar tendidos dos cables de comunicación por los ductos respectivos, uno entre el controlador de los letreros y el rack o gabinete, y otro entre el controlador de los letreros y la consola.
Las características de ambos cables deben ser idénticas y deben considerar 2 conductores de colores blanco y verde. En relación con la extensión de los cables, en el extremo que ingrese al rack debe sobrar, al menos, 1 metro de cable y en el extremo de la consola, deben sobrar 50 cm de cable como mínimo; ambos cables, en el extremo del controlador de letreros deben considerar un largo de 30 cm, de manera de permitir la instalación del conector hacia el controlador de letreros.
12. PANTALLA DE INFORMACIÓN VARIABLE INTERIOR.
El Fabricante deberá disponer, de preferencia en la parte delantera del vehículo, de al menos 1 pantalla de información variable para que se pueda interconectar con el equipamiento de gestión de flota. La pantalla debe cumplir con los siguientes requisitos mínimos:
. Al menos 21".
. Resolución de al menos de 1280x768 pixeles.
. Contraste mínimo de 800:1.
. Capacidad de desplegar color, full color.
. Brillo mínimo de 300 cd/m2 o nits.
. Angulo de visión de al menos 120º.
. CPU con un núcleo de 32 bits o superior, sin ventilador.
. Memoria RAM de al menos 2 GB.
. Storage de al menos 4 GB.
. Chipsets tipo ARM o similar.
. Graphics integrados.
. Audio integrados.
. Sistema operativo abierto de alto uso.
. Interfaces para conectarse con otros elementos del bus y recepción de video, al menos HDMI, Ethernet (RJ45), USB, RS 485 y puerta de audio.
. Lenguaje de programación abierto y no propietario.
. Compatibilidad con estándares IT abiertos.
. Grado de protección IP54.
. Tiempo medio entre fallas (MTBF) de 40.000 horas.
. Capacidad de operar en temperatura de entre -10 a +50ºC.
. Contar con la capacidad de mostrar una imagen por defecto, a definir por la Autoridad, en caso de no contar una señal externa de video.
. Contar con mecanismos para su apagado y encendido fuera del alcance de los usuarios habituales.
. Debe ser resistente a vibraciones y evitar uso de componentes mecánicos en el interior de este.
13. MEGAFONÍA.
El vehículo deberá disponer de un sistema de megafonía que le permita al conductor y sistemas de servicios complementarios dirigir mensajes a los pasajeros.
Deberá integrar un sistema de amplificación y parlantes para el salón de pasajeros y para el exterior del bus en la zona de las puertas.
La amplificación del sonido de los parlantes del sistema deberá ser capaz de ajustarse a las condiciones de ruido ambiental cuando el vehículo se encuentre prestando el servicio de transporte.
Los altavoces deben responder a características de fidelidad y potencia suficiente para asegurar que los mensajes de audio emitidos sean correctamente recibidos en cualquier lugar del bus por una persona con audición normal. Lo anterior debe ser válido para un bus en movimiento y bajo las condiciones de ruido interior autorizadas por decreto supremo N°129, de 2002, del Ministerio de Transportes y Telecomunicaciones.
La solución de megafonía debe cumplir con todo lo necesario para lograr un cumplimiento de los indicadores %ALCons(¹), cuyo valor debe ser cercano al 5% y en ningún caso superior al 10%, y RASTI, que debe situarse entre [0,75 - 1,00].
En la instalación de los componentes del sistema, se deberá considerar la ergonomía del puesto del conductor a fin de evitar maniobras incómodas y distracción en la conducción por su uso.
El sistema de parlantes debe diferenciar el espacio del conductor (o sector conductor) del sector pasajeros, así como los parlantes exteriores en la zona de las puertas. Además, deberá contar con la capacidad de integración con sistemas de gestión u otros sistemas de comunicación similares. Particularmente, los usos para cada sector deberán ser:
. Usos sector pasajeros: El sistema de parlantes podrá ser utilizado por el conductor cuando quiera comunicarles alguna información, utilizando el micrófono provisto o a través del sistema de información a usuarios, cuando exista esta capacidad.
. Usos sector conductor: El sistema de parlantes podrá ser utilizado solamente por otro sistema de comunicaciones desde los Centros de Operaciones a través de los sistemas instalados en el gabinete del punto 1.1.4, por lo cual deberá considerarse que en dicho gabinete exista el conector y las interfaces que permitan tal uso.
14. CÁMARAS DE SEGURIDAD.
Se deberá contar con un sistema CCTV y DVR para tener registro audiovisual de todos los eventos ocurridos a bordo durante la operación y manipulación del bus en terminales. Los sistemas deben cumplir con los siguientes requisitos:
La disposición del equipamiento asociado al servicio de cámaras embarcadas deberá permitir registrar información audiovisual al interior y exterior del bus considerando, al menos, las siguientes zonas de interés:
i. Puertas de acceso del bus, permitiendo visualizar claramente los pasajeros que suben y bajan del bus. En el caso de las puertas de acceso con cercanía a un validador se debe permitir registrar también, el momento de validación por parte de los pasajeros.
ii. Habitáculo del conductor, para la resolución de incidencias al interior del bus y prevención del vandalismo (por ejemplo, agresiones contra el conductor) permitiendo visualizar todo el entorno del habitáculo del conductor.
iii. Salón para pasajeros, que permita visualizar la totalidad del habitáculo de pasajeros e identificar pasajeros involucrados en incidentes.
iv. Vista hacia adelante y hacia atrás, que permita visualizar claramente las patentes de vehículos situados a una distancia de al menos 20 metros del bus y visualizar a los usuarios que esperen en los paraderos. Para este caso, se espera una resolución de al menos, 720p o equivalente con una tasa de muestreo de 25 FPS o superior, con capacidad de vista a 0 LUX utilizando infrarrojo.
______________________________
(¹)Percentage Articulation Loss of Consonants.
La cantidad de cámaras, su distribución y disposición debe ser tal que asegure el cumplimiento de los requisitos descritos en este documento, por lo tanto, deberán también adecuarse a las distintas tipologías de bus y zonas de interés. Se debe considerar que la disposición final de las cámaras será aprobada por la Autoridad durante el proceso de alistamiento del bus.
El equipamiento deberá contar con características anti-vandálicas, y estar instalado idealmente en lugares fuera del alcance de los pasajeros, en domos o mimetizado en la carrocería del vehículo.
Las cámaras deberán soportar al menos 30 FPS, y tener resolución de al menos 720p o equivalente. Para efectos del cálculo del almacenamiento se debe considerar que se utilizará una configuración de 15 FPS por cámara, dejando un margen a criterio para poder cubrir las variaciones de las muestras de los fotogramas con bitrate dinámico (considerar bitrate mínimo de 768 Kbps).
Para el caso de la cámara que apunte al habitáculo del conductor se debe incluir un lente gran angular que permita una visión de 120º para permitir la visualización de todo el entorno del conductor y la puerta de entrada del vehículo.
Los registros grabados en el dispositivo a bordo deberán contener la patente del bus, nombre de la empresa, fecha, hora, número y ubicación de la cámara. Considerar la configuración de servicios NTP en cámaras para sincronización de horas de cámaras. Estos datos también deberán poder ser visualizados, de manera configurable, al momento de reproducir los registros tanto en el dispositivo a bordo como en dispositivos externos.
Adicionalmente, los registros grabados deben incluir información de la ubicación del bus a través de coordenadas GPS, velocidad y orientación del vehículo a ser visualizados en dispositivos externos.
Los formatos de audio y video utilizados deben estar basados en alguno de los siguientes estándares MPEG4 Parte 2, MPEG parte 10 (ISO/IEC 14496-10) y/o ITU-T H.264. En el caso de querer utilizar alguno equivalente o superior se deberá solicitar la aprobación de la Autoridad.
Los dispositivos deberán contar con mecanismos automáticos de compensación de luz, ganancia y balance de blancos, a fin de realizar el registro audiovisual en diferentes condiciones de luminosidad, durante el día y la noche. Para condiciones de lux 0, se deberá considerar la instalación de infrarrojo cuya activación deberá poder ser configurable.
Deberá permitir la visualización y/o descarga de la información a través de dispositivos externos de los registros almacenados, como por ejemplo laptops, tablets y smartphones. Esta conexión deberá poder realizarse a través puertos USB, RJ45 o una red Wifi local, de acuerdo con el dispositivo que corresponda.
El equipamiento deberá permitir la extracción de los registros audiovisuales hacia medios externos, y entregar las herramientas de software necesarias para la reproducción de los videos y la ejecución de las acciones detalladas en este capítulo, fuera del dispositivo de grabación.
El equipo DVR que se instale deberá contar con la capacidad de realizar streaming de video de los registros bajo la solicitud de los centros de control a través de un modem (3G, 4G o superior) y sus respectivas antenas. El canal de comunicación entre el bus y la central deberá contar con un sistema de encriptación y así permitir la transmisión segura del canal de transmisión de video. Dicho streaming se deberá poder realizar también por los puertos RJ45.
El DVR debe contar con una interfaz para la recepción de información GPS a través del protocolo NMEA 0183.
El módulo deberá contar con elementos de seguridad físicos y/o lógicos que permitan la extracción de los registros audiovisuales sólo por parte del personal autorizado.
El equipamiento deberá contar con la capacidad de almacenar localmente la información audiovisual durante un periodo de, al menos, 30 días de operación. Una vez transcurrido este plazo, se deberá iniciar un proceso de grabación circular en el que se comienza a sobreescribir la información más antigua.
El DVR deberá tener:
. Entradas de señal que permitan recibir la señal del botón de pánico o botón o pedal de emergencia o de la consola y se puedan marcar eventos en los videos.
. Incorporar un acelerómetro para monitorear frenadas, aceleraciones o pendientes bruscas del vehículo.
. Salidas de video para permitir al conductor visualizar las imágenes de las cámaras grabadas en el sistema.
Adicionalmente, se debe contar con sistema de autenticación utilizando certificados y sistema de llaves públicas/privadas para asegurar el acceso remoto hacia el sistema de cámara, utilizando los medios necesarios para evitar que externos tomen el control de éste. Este streaming deberá contar con las siguientes características:
. Capacidad de iniciar y pausar el video.
. Capacidad de seleccionar bus y cámaras que se desean visualizar.
. Contar con parámetros para administrar la calidad del streaming, pudiendo variar como mínimo cantidad de FPS y bitrate.
Debe contar con las herramientas de software para la inspección local y manual de los registros almacenados, permitiendo realizar al menos las siguientes acciones:
. Reproducción del registro audiovisual.
. Reproducción acelerada.
. Reproducción simultánea de una o más cámaras.
. Recortar tramos de interés del registro audiovisual y almacenarlos como registros diferentes.
Los software locales y remotos utilizados para la visualización y administración del sistema y el firmware y posteriores actualizaciones de este, deberán ser entregados a la Autoridad y el operador de transporte que corresponda a fin de permitir el adecuado uso de los sistemas aquí solicitados.
El equipamiento deberá permitir la configuración local y remota de sus parámetros como patente del bus, fecha (en formato AA/MM/DD), hora (en formato HH:MM:SS), número de la cámara y alertas. Esta información deberá figurar en las imágenes grabadas.
Los componentes de almacenamiento deberán asegurar una vida útil que garantice un correcto desempeño bajo las condiciones del medio, evitando la utilización de componentes mecánicos, como discos duros rígidos (HDD), que sean más susceptibles a vibraciones y/o impactos. Se deben utilizar medios de almacenamiento de estado sólido persistentes, como SSD, tarjetas de memoria o discos duros con sistemas anti-vibración.
Tanto los medios de almacenamiento como las tarjetas de comunicaciones (Ej. SIMcard) entre otros que formen parte de la solución, deberán ser protegidos de extracciones por personas no autorizadas.
Se debe considerar que el DVR debe poder operar bajo temperaturas de entre -10ºC a +70ºC y humedad relativa 90% máxima. En el caso que el DVR se encuentre en el gabinete, los rangos podrán ser de entre -10ºC a +50ºC.
El equipamiento embarcado asociado al servicio deberá contar con protección contra humedad y polvo que cumpla al menos con el Grado de Protección IP67 a excepción del módulo DVR que deberá ser al menos IP57.
En el caso de que la ubicación que determinen los Oferentes para las cámaras sea compatible con el DS 122/1991 Art. 7 numeral 23, relacionado con la utilización de espejos convexos, dichas cámaras podrán ser utilizadas con este propósito quedando en responsabilidad del operador la integración adecuada de los equipos para cumplir con ambas exigencias.
Deberá instalarse un único monitor de, al menos, 7", ubicado preferentemente en el panel de conducción a fin de permitir visualizar, mediante las cámaras de seguridad, el interior del bus. En todas las puertas de servicio se deberá contar con espejos para mantener la visibilidad en caso de falla del sistema de cámaras. Para esto se debe permitir la selección manual de hasta 4 cámaras a ser visualizadas o permitir la alternativa de rotación de cámaras.
El monitor para visualización de interior del bus deberá cumplir con las siguientes reglas:
. En condiciones normales de operación durante la conducción, con las puertas cerradas y la marcha atrás no accionada, el monitor deberá mostrar las cámaras del bus que permiten visualizar, al menos, el salón y la puerta central:

. En condición de marcha atrás accionada, el monitor podrá mostrar, únicamente, la imagen de la cámara con visión trasera:

. Durante la operación, en condiciones de detención en paraderos y durante la apertura y cierre de puertas del bus, el monitor debe mostrar las cámaras enfocadas a las puertas, de la siguiente forma:

15. WIFI ABORDO.
El Fabricante deberá disponer de, al menos, un equipo router inalámbrico para la entrega de conectividad a Internet a los pasajeros del bus que cuente con algún sistema de control de acceso, ubicado de preferencia en el espacio al interior del vehículo acondicionado para la instalación de equipamiento electrónico. Dicho router debe contar con un log que permita informar sobre el uso de la red por parte de los usuarios.
Este equipamiento deberá permitir, a través de la incorporación de al menos dos tarjetas SIM y la utilización de una red ethernet, conexión a la red Internet. Adicionalmente, el equipamiento deberá permitir la administración del tiempo de uso y volumen de ancho de banda.
Finalmente, el equipamiento deberá contar con las funcionalidades correspondientes para prestar el siguiente servicio de Wifi a los usuarios:
. Un mínimo de 30 usuarios conectados de forma simultánea por bus.
. Un tiempo de navegación previamente especificado por usuario.
. El tiempo de espera para la reconexión de la sesión deberá ser configurable, mediante cola de espera, informando a través del navegador el tiempo de espera restante. Este tiempo podrá variar en función de la cantidad de usuarios conectados al sistema.
. La velocidad de navegación podrá ser asimétrica, realizando una configuración con calidad de servicio, para asegurar una velocidad mínima de descarga de 1 Mbps para cada usuario, con un máximo que varíe en función de la cantidad de usuarios conectados y el ancho de banda disponible en la salida WAN, repartiéndose ésta a prorrata para cada usuario. La velocidad de subida podrá variar de la misma forma, en proporción a lo entregado por el proveedor de Internet.
. La red a utilizar en cada bus deberá estar definida, preliminarmente, como el texto "#MejorTransporte-" seguido de la placa patente en minúscula de cada vehículo (Ej. #MejorTransporte-bbfr88), o el texto que el Ministerio informe oportunamente. Esto con la finalidad de hacer más sencilla la conexión para el usuario y evitar cruces de SSID entre buses aledaños en un mismo momento y lugar.
Precauciones de seguridad básica del router:
. Los puertos físicos del router deberán estar resguardados y desactivados si no están siendo utilizados. Deberá quedar un registro log en caso de desconexión de un puerto físico y dar una alerta de la acción al administrador.
Descripción de las características mínimas del router y access points:
. Disponibilidad de conexiones a diferentes redes WAN con switcheo automático.
. Doble SIM con propósitos de back up, con capacidad de tecnología embarcada.
. Puertos LAN que le permiten conectividad sin necesidad de equipo externo ni configuraciones.
. Soportar un amplio rango de voltaje de entrada de 10V a 30V DC.
. Sistema de administración remota y local que permiten gestionar la unidad a través de una interfaz intuitiva.
. Control total en el uso del ancho de banda y tipo de contenido.
. Soportar temperaturas de -10º a 65ºC, en general para uso de transporte terrestre de personas.
. Conectores de antenas, redes, energía y conector del SIMCARD deben estar diseñados para equipamiento en movimiento y vibración permanente.
. El equipo deberá cumplir con la normativa relacionada con la no interferencia electromagnética con otros equipos tecnológicos a bordo del bus.
Finalmente, el sistema deberá contar con administración remota para poder configurar y administrar los router de cada bus y, además, proveer de información estadística periódica y en línea de tráfico, cantidad de usuarios y sitios web visitados en forma anónima. Lo anterior, sin perjuicio de lo establecido en la ley Nº 19.628, sobre Protección de la Vida Privada.
16. INTERFAZ CANBUS.
Para controlar parámetros de operación, acciones de mantenimiento, etc., los buses deberán contar con un sistema de envío de datos CAN-BUS de acuerdo con el estándar J1939. Así, el Operador deberá entregar a la Autoridad o a quien ésta designe, acceso sin costo adicional y sin restricciones de ningún tipo a todos los datos e información provenientes del sistema de envío de datos CAN-BUS.
La información mínima que debe considerar es:
a) Cumplir con el "BUS FMS standard"
b) Consumo energético en [km/l]; [kWh/km]
c) Velocidad media [km/h]
d) Velocidad instantánea [km/h]
e) Tiempo en ralentí [h]
f) Kilómetros recorridos [km]
g) Rendimiento (por ejemplo, para vehículos a propulsión diésel, se podrá considerar el Total de litros consumidos [l])
h) Sistema de motor (alertas y visualización de fallas)
i) Sistema de suspensión neumática (alertas y visualización de fallas)
j) Sistema de transmisión (alertas y visualización de fallas)
k) Sistema de frenos (alertas y visualización de fallas)
l) Sistemas ABS y EBS (alertas y visualización de fallas)
m) Sistema de puertas (door brake, alertas y visualización de fallas)
n) Sistema post-tratamiento de emisiones (aplica a vehículos a propulsión diésel) (alertas y visualización de fallas).
Para el caso de buses a propulsión eléctrica y con el objetivo de realizar una adecuada gestión de las baterías, durante su vida útil, se deberán considerar también las siguientes señales que deben provenir del sistema de envío de datos CAN-BUS:
Mediciones primarias:
a) - Voltaje [V] y corriente [A] de cada pack de baterías (frecuencia de muestreo 2Hz)
b) - Voltaje [V] y corriente [A] de los moto-generadores (frecuencia de muestreo 2Hz)
c) - Voltaje [V] y corriente [A] de los accesorios eléctricos: compresor AA, servo-dirección, compresor de aire (frecuencia de muestreo 2Hz)
d) - Temperatura [°C] de cada pack de baterías (frecuencia de muestreo 0.5Hz)
e) - Estado de carga del pack de baterías (SOC) [%] (frecuencia de muestreo 0.5Hz).
Mediciones secundarias:
f) - Temperatura [°C] del pack de batería celda (frecuencia de muestreo 0.5Hz)
g) - Voltaje [V] y corriente [A] por celda del pack de batería (frecuencia de muestreo 2Hz)
Este acceso será proporcionado de manera física mediante la habilitación y conexión de los servicios del CANBUS a bordo del vehículo y sus puertos de comunicación OBDII o similar (según el avance tecnológico). Dado lo anterior, deberán disponerse en el gabinete descrito en el apartado 1.1.4 los conectores CANBUS necesarios (al menos dos), con sus correspondientes señales y canalizados de acuerdo con lo descrito en el apartado 1.1.3 del presente documento.
El Operador deberá entregar toda la documentación necesaria acerca de las estructuras de datos, los protocolos de comunicación estándar al que adscribe, diccionarios y cualquier otro elemento, información y documentación necesarios para la captura, procesamiento e integración de la información provista por el CANBUS con otras plataformas informáticas externas.
17. DISPONIBILIDAD DE ENERGÍA.
Los diversos dispositivos tecnológicos que se instalarán en los buses requieren energía eléctrica, la cual deberá ser proporcionada por el sistema eléctrico del bus. Por lo tanto, en el diseño del bus se deberá considerar el consumo de estos dispositivos a fin de asegurar el normal desempeño de éstos, como así también el normal funcionamiento del bus.
A modo de referencia, en la Tabla 9: Consumos típicos referenciales de los componentes a instalar en el bus, se detalla el consumo de energía de distintos componentes tecnológicos:

El bus deberá disponer de una solución que permita aumentar la entrega de energía en el caso que el consumo eléctrico de los distintos sistemas que se habiliten así lo demanden. Esta solución de aumento de energía debe estar contemplada en el diseño.
En el vehículo deberá establecerse el punto de conexión, antes del toma corriente procurando aislar las corrientes eléctricas residuales (interferencias). Además, cada toma de energía deberá estar protegida ante cortocircuitos y sobrecargas de corriente.
18. SISTEMA DE DETECCIÓN DE PROXIMIDAD DE ELEMENTOS.
Adicionalmente, los Oferentes deberán incorporar un sistema de detección de proximidad de elementos que se encuentran típicamente en una vía para prevenir colisiones y velar por la seguridad del conductor y pasajeros, alertando al conductor de situaciones de peligro de colisión. Entre estos elementos se encuentran vehículos, peatones, ciclistas y otros. En este sentido el sistema deberá cumplir con lo siguiente:
. Entregar alertas frente a las siguientes situaciones:
o Alerta de colisión frontal con vehículos, peatones y/o ciclistas.
o Alerta frontal de distancia imprudente contra vehículos.
o Alertar sobre la existencia de peatones o ciclistas en los puntos ciegos laterales del bus.
o Alertar sobre riesgo de colisión con peatones y ciclistas en los puntos ciegos laterales del bus.
. Las alertas deberán contar con indicaciones visuales y auditivas en el rango de visión del conductor sin dificultar la operación segura y adecuada del bus.
. El sistema o dispositivos deberá contar con una interfaz para compartir la emisión de estas alertas con un sistema de gestión de flota u otro sistema similar. Para este propósito se deberá contar con alguna interfaz estándar (CAN-BUS, Rs232, ethernet, etc.) y entregar los protocolos de comunicación para su adecuada lectura.
. Los dispositivos que se instalen deberán estar adecuadamente integrados al bus y se deberá cumplir con las exigencias descritas en los puntos 1.1.3 y 1.1.4, disponibilizando su interfaz de conexión en el gabinete y canalizando los cables adecuadamente.
19. SISTEMA DE EFICIENCIA ENERGÉTICA Y CALIDAD DE CONDUCCIÓN.
Adicionalmente, los Oferentes podrán incorporar un sistema de eficiencia energética y calidad de conducción o eco-conducción a fin de asistir al conductor en la entrega de viaje seguro, confortable y eficiente. Esto, entregando información al conductor que retroalimente la operación del bus a través de sus parámetros y registrando información histórica para su posterior análisis. Para esto, se espera que el sistema de eco-conducción cuente, al menos, con las características que a continuación se enumeran:
. El sistema de eco-conducción debe medir y registrar, al menos, las siguientes variables del bus:
o Intensidad de frenada.
o Frenada brusca.
o Aceleración.
o Aceleración brusca.
o Velocidad.
o Excesos de velocidad.
o Consumo energético.
o Tasa de sobre revoluciones.
o Ralentí.
. El sistema debe alertar al conductor la siguiente información:
o Detección de frenada brusca.
o Detección de aceleración brusca.
o Detección de giro brusco.
o Exceso de velocidad.
o Conducción óptima de rendimiento.
o Sobre revolución.
. Las alertas deberán contar con indicaciones visual y auditiva en el rango de visión del conductor, sin dificultar la operación segura y adecuada del bus, éstas deben ser desactivables.
. El sistema o dispositivos deberán contar con una interfaz para compartir la información recaudada con un sistema de gestión de flota u otro sistema similar. Para este propósito se deberá contar con alguna interfaz estándar (CAN-BUS, Rs232, ethernet, etc.) y entregar los protocolos de comunicación para su adecuada lectura.
Los dispositivos que se instalen deberán estar adecuadamente integrados al bus y se deberá cumplir con las exigencias descritas en los puntos 1.1.3 y 1.1.4, disponibilizando su interfaz de conexión en el gabinete y canalizando los cables adecuadamente.
Artículo 4º: Establécese que, para la certificación de las características señaladas en el artículo anterior, los fabricantes, armadores, importadores o sus representantes deberán poner a disposición del Ministerio de Transportes y Telecomunicaciones el modelo de bus respecto del cual se solicita la certificación para una inspección visual.
Por cada modelo aprobado mediante este procedimiento, el Ministerio de Transportes y Telecomunicaciones emitirá un Certificado de Estándar Red Regional Tecnológico, relativo a los componentes tecnológicos del bus, que señale que el modelo del vehículo cumple con las características señaladas en el artículo 3º de esta resolución. Dicho certificado tiene validez mientras el modelo de vehículo no cambie respecto del prototipo que fue objeto de la certificación.
A su vez, los fabricantes, armadores, importadores o sus representantes deben emitir certificados individuales para cada vehículo que comercializan de los que conforman la o las partidas de los modelos aprobados.
Anótese, comuníquese y publíquese.- Gloria Hutt Hesse, Ministra de Transportes y Telecomunicaciones.